Microchip Technology Émetteurs-récepteurs Gigabit Ethernet LAN8840
Les émetteurs-récepteurs gigabit Ethernet (GbE) LAN8840 de Microchip Technology sont des émetteurs-récepteurs Ethernet à triple vitesse (10BASE-T/100BASE-TX/1000BASE-T) intégrés pour la transmission et la réception des données. Ces émetteurs-récepteurs fournissent des commutateurs pour le transfert de données à 10 Mbit/s /100 Mbit/s /1 000 Mbit/s et une interface indépendante du support Gigabit réduite (RGMII) pour une connexion directe aux MAC RGMII. Les émetteurs-récepteurs LAN8840 disposent de résistances de terminaison sur puce pour indiquer la qualité du signal et de la paire différentielle. Ces émetteurs-récepteurs disposent d’une RGMII avec des E/S tolérantes 3.3V/2.5V/1.8V et une prise en charge IEEE 1588 v2. Les émetteurs-récepteurs LAN8840 disposent d’une option de broche d’interruption, de modes de mise hors tension et d’économie d’énergie, et d’une correction de barre de base. Ces émetteurs-récepteurs offrent une prise en charge Wake-On-LAN (WOL) avec une détection de paquets personnalisée robuste et des sorties LED programmables pour la liaison, l’activité et la vitesse.Les émetteurs-récepteurs LAN8840 simplifient la disposition de la carte à l’aide de résistances de terminaison sur puce et réduisent le coût de la carte en intégrant un contrôleur LDO. Ces émetteurs-récepteurs fonctionnent sur une plage de température industrielle étendue de -40 °C à 105 °C. Les émetteurs-récepteurs LAN8840 sont idéalement utilisés dans le contrôle industriel , ls consoles de jeu, l’IPTV, la passerelle large bande, les imprimantes laser/réseau, les serveurs réseau et les boîtiers décodeurs IP.
Caractéristiques
- Émetteurs-récepteurs Ethernet mono-puce adaptés aux applications IEEE 802,3
- résistances de terminaison sur puce pour les paires différentielles
- Prise en charge de trame Jumbo jusqu’à 16 Ko
- Sortie d’horloge de référence à 125 MHz
- Mode de mise hors tension avec détection d'énergie pour réduire la consommation d'énergie lorsque le câble n'est pas branché
- Prise en charge Wake-On-LAN (WOL) avec détection de paquets personnalisée robuste
- Sorties LED programmables pour la liaison, l’activité et la vitesse
- Correction de la ligne de base
- diagnostic de câble basé sur le TDR LinkMD® pour identifier le câblage cuivre défectueux
- technologie EtherSynch® IEEE 1588v2/PTP
- Prise en charge de l'Ethernet Vert (Énergie-Efficient Ethernetou EEE) avec mode veille à faible puissance (LPI) et arrêt d’horloge pour 100BASE-TX/1000BASE-T
- Réduction de l’amplitude de transmission avec l’option 10BASE-Te
- Cinq sorties LED programmables pour la liaison, l’activité et la vitesse offrant des émetteurs-récepteurs igabit Ethernet LAN8840
- Indication de qualité du signal
- Interface de gestion MDC/MDIO pour configuration de registre PHY
- Modes de boucle de retour pour les diagnostics
- Détection et correction automatiques des échanges de paires, déviation de paires et polarité de paires
- Prise en charge paramétrique d'arbre NAND pour détecter les défauts entre les E/S sur puce et la carte
- Option de broche d'interruption
- Modes de mise hors tension et d'économie d'énergie
Caractéristiques techniques
- boîtier VQFN (7 mm × 7 mm) 48 broches
- Prise en charge jusqu’à 16 KB jumbo frame
- plage de température de fonctionnement industriel étendue de -40 °C à 105 °C
Applications
- Contrôle industriel
- Imprimante laser/réseau
- Stockage en réseau (NAS)
- Serveur réseau
- Gigabit LAN sur carte mère (GLOM)
- Passerelle large bande
- Routeur Gigabit SOHO/SMB
- IPTV
- Décodeur IP
- Consoles de jeux
- Centre média « Triple Play » (données, voix et vidéo)
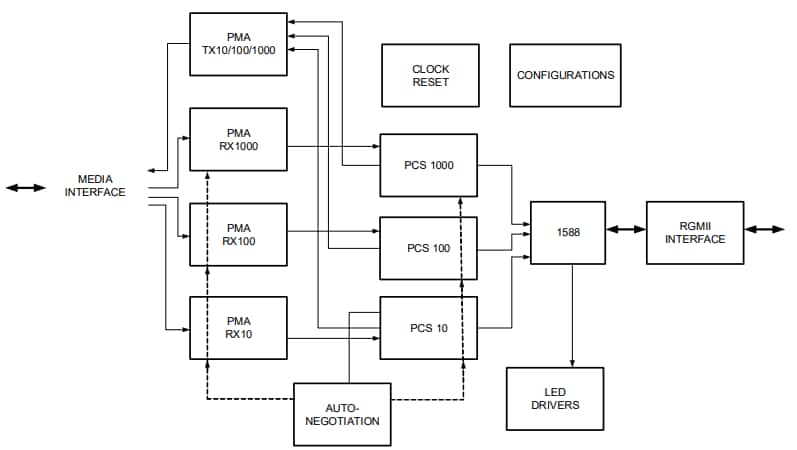
Schéma de principe du système
schéma fonctionnel LAN8840
Publié le: 2023-06-06
| Mis à jour le: 2023-07-10
