Microchip Technology Contrôleurs de signal numérique 16 bits dsPIC33CK
Les contrôleurs de signal numérique (DSC) 16 bits dsPIC33CK de Microchip Technology sont conçus pour intégrer les attributs de contrôle des microcontrôleurs (MCU) et les capacités de calcul des DSP dans un seul cœur. Ces DSC dsPIC33CK disposent d'une UCT / CPU 16 bits, d'une MLI haute résolution, de données flexibles CAN (CAN FD), d'un oscillateur interne, de modes de gestion à faible puissance, d'un module CAN haute vitesse et d'une prise en charge du développement d'un débogueur. L'UCT / CPU 16 bits dispose d'une architecture Harvard modifiée avec un jeu d'instructions amélioré et une prise en charge du traitement du signal numérique (DSP). Les DSC dsPIC33CK disposent d'une mémoire de programme flash interne qui peut être lue, écrite et effacée pendant le fonctionnement normal sur l'ensemble de la plage VDD. La mémoire du programme flash stocke et exécute des codes d'application.Les DSC dsPIC33CK disposent d'une boucle à verrouillage de phase (BVP) sur puce pour augmenter la fréquence de fonctionnement interne sur certaines sources d'oscillateur interne/externe.Le générateur d'horloge auxiliaire de BVP (APLL) augmente la fréquence de fonctionnement des périphériques et la surveillance d'horloge de sécurité (FSCM) détecte les défaillances d'horloge et permet une récupération/arrêt d'applications en toute sécurité.Les DSC dsPIC33CK mettent en œuvre deux instances du module d'interface de codeur en quadrature (QEI) qui fournit l'interface aux codeurs incrémentaux pour obtenir des données de position mécanique. Le module QEI permet un contrôle en boucle fermée des appareils de contrôle de moteur, notamment les moteurs à induction CA (ACIM) et à réluctance commutée (SR).
Caractéristiques
- UCT / CPU dsPIC33CK 16 bits
- Gestion de l'horloge
- Oscillateur interne
- BVP et sources d'horloge d'oscillateur programmables
- Sortie horloge de référence
- Moniteur d'horloge de sécurité (FSCM)
- Oscillateur interne de secours
- Modes de gestion à faible puissance
- MLI haute vitesse
- 8 paires MLI
- Temps mort pour les fronts ascendants et descendants
- Compensation de temps mort
- Découpe d'horloge pour un fonctionnement à haute fréquence
- Configuration de déclenchement flexible pour déclenchement CAN
- 1 minuteur à usage général
- Module CAN haute vitesse
- Jusqu'à 24 canaux d'entrée
- Tampon de résultat dédié pour chaque canal analogique
- Sources de déclenchement CAN flexibles et indépendantes
- Quatre comparateurs numériques
- Quatre filtres de suréchantillonnage pour une résolution accrue
- Jusqu'à trois amplis op
- Quatre canaux d'accès direct à la mémoire (DMA)
- Interfaces de communication
- Trois modules SPI/I2S 4 fils
- Module de données flexibles CAN (FD)
- Trois modules I2C avec prise en charge SMBus
- Contrôle de redondance cyclique programmable (CRC)
- Port maître parallèle (PMP)
- Assistance au développement de débogueur
- Programmation et débogage en circuit et en application
- Trois complexes et cinq points de rupture simples
- Le tampon de trace et la veille d'exécution
- Système de surveillance d'horloge avec oscillateur de secours
- Temporisateur de veille automatique (DMT)
- Code de correction d'erreur (ECC)
- Horloge de surveillance (WDT)
- Sécurité CodeGuard™
- Inhibiteur d'écriture ICSP™
- Auto-test de mémoire intégré (MBIST) pour RAM
Vidéos
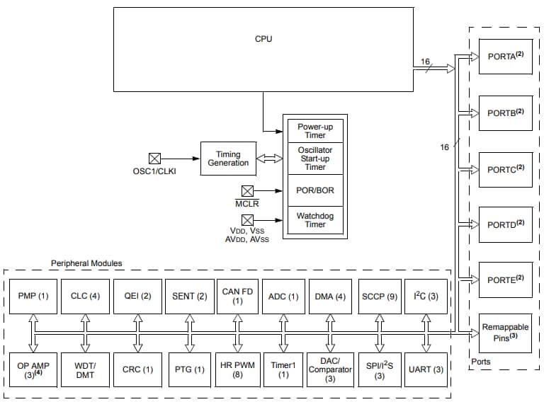
Schéma fonctionnel des DSC 16 bits dsPIC33CK
