Microchip Technology Pilotes moteur intégrés dsPIC33CDVC256MP506
Les pilotes moteur intégrés dsPIC33CDVC256MP506 de Microchip Technology combinent un contrôleur de signal numérique (DSC) avec un pilote de grille MOSFET à pont complet conçu pour la commande de moteur BLDC triphasé et un émetteur-récepteur CAN pour les communications automobiles. Les DSC dsPIC® 100 MHz avec DSP, PWM de commande moteur avancée, convertisseur A/N 12 bits et amplis op et comparateurs intégrés sont conçus pour exécuter un contrôle orienté champ (FOC), offrant un rendement énergétique maximal et le coût du système le plus bas. Le pilote de grille à pont complet contrôle six FET NMOS externes et comprend une pompe de charge intégrée pour un fonctionnement à basse tension, un temps mort programmable et des circuits de protection complets. Le pilote moteur intégré peut être alimenté par une seule alimentation jusqu’à 29 V (fonctionnement) et 40 V (transitoire) avec le DSC dsPIC alimenté par un régulateur de tension LDO 3,3 V interne. Les applications automobiles comprennent les ventilateurs de refroidissement, les pompes à gaz, à huile et à eau, les compresseurs, les vannes, les actionneurs et les turbocompresseurs.Les applications industrielles et commerciales comprennent les outils électriques et autres équipements alimentés par batterie.Caractéristiques
- Conforme AEC-Q100 Rév-H
- Fonctionnement DSC
- De 3,0 V à 3,6 V, de -40 °C à +125 °C, du CC à 100 MHz
- De 3,0 V à 3,6 V, de -40 °C à +150 °C, du CC à 70 MHz
- Fonctionnement du pilote de grille MOSFET de 6,5 V à 29,0 V, de -40 °C à +150 °C
- CPU
- Architecture Harvard modifiée
- Jeu d’instructions optimisé pour le compilateur C
- Chemin de données de 16 bits de large / Instructions de 24 bits de large
- Opérations multiplicateur entier 16 x 16 bits
- Rapide, opérations de division entière à 6 cycles 32/16 et 16/16
- 2 accumulateurs 40 bits avec options d’arrondi et de saturation
- Multiplication et s’accumulation en un seul cycle
- Bascules sur un seul cycle pour des données jusqu’à 40 bits
- Multiplicateur fractionnaire ou entier
- Module PWM de commande moteur (MCPWM)
- 4 paires PWM avec minutage indépendant (8 sorties)
- Résolution PWM de 2,0 ns
- Configurations de déclenchement flexibles pour les conversions CAN
- Temps mort indépendant pour les fronts montant et descendant
- Entrées de défaillance programmables
- Comprend la prise en charge des onduleurs, PFC, éclairage, BLDC, PMSM, ACIM et SRM
- Interface d’encodeur optique/incrémentiel 32 bits, module d’interface d’encodeur en quadrature (QEI)
- Module de convertisseur analogique-numérique (CAN) à résolution 12 bits, taux de conversion de 3,5 MS/s, jusqu’à 15 canaux, 1 circuit échantillonneur-bloqueur
- Caractéristiques analogiques
- 3 amplificateurs opérationnels avec sorties connectées en interne au module CAN
- Comparateur analogique rapide (15 ns)
- CNA PDM 12 bits avec compensation de pente et sortie tamponnée
- Générateur de déclenchement périphérique (PTG), séquenceur capable de générer des séquences de signal de déclenchement complexes
- Jusqu’à 12 minuteurs
- Module de minuteur 16 bits dédié (minuteur 1)
- 4 modules de capture/comparaison/PWM/minuteur (SCCP) avec 2 minuteurs 16 bits ou 1 minuteurs 32 bits
- Module PTG avec 2 minuteurs/compteurs 16 bits configurables
- Module QEI configurable en tant que minuteur/compteur 32 bits
- Interfaces de communication série
- 3 modules UART de protocole avec prise en charge de LIN 2.2
- 3 modules SPI (jusqu’à 50 Mbps) avec FIFO 16 octets
- 3 hôtes et clients I2C avec masquage d’adresse et prise en charge IPMI
- 2 modules envoyés prenant en charge les capteurs automobiles
- DMA à 4 canaux avec arbitrage des priorités sélectionnable par l'utilisateur
- Sélection de broches périphériques (PPS) prenant en charge le remappage des fonctions
- Contrôle de redondance cyclique programmable (CRC) 32 bits
- Boîtier VGQFN 64 broches
Applications
- Automobile
- Ventilateurs de refroidissement
- applicable
- Pompes à huile et à eau
- Compresseurs
- Vannes
- Actionneurs
- Turbocompresseurs
- Industriel et commercial
- Outils électriques
- Autres équipements alimentés par batterie
Schéma de principe des connexions internes
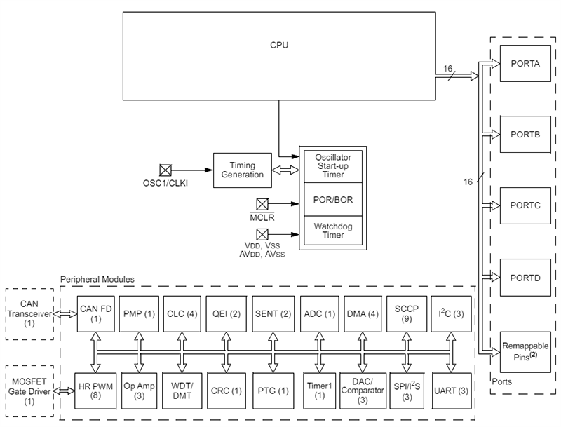
Schéma fonctionnel
Notes d'application
- AN957 : Commande de moteur BLDC à capteur utilisant dsPIC30F2010
- AN1160 : Commande BLDC sans capteur avec filtrage EMF arrière utilisant une fonction majoritaire
- AN1299 : Algorithme de reconstruction de courant triphasé à shunt unique pour FOC sans capteur d’un PMSM
- AN1292 : Commande à orientation de champ (FOC) sans capteur pour un moteur synchrone à aimants permanents (PMSM) utilisant un estimateur PLL et un affaiblissement de champ (FW)
- AN4064 — Contrôle orienté champ à capteur (basé sur un capteur à effet Hall) d’un moteur BLDC triphasé utilisant dsPIC33CK
View Results ( 9 ) Page
| Numéro de pièce | Fiche technique | Taille de la mémoire du programme | Taille de la RAM de données | Package/Boîte |
|---|---|---|---|---|
| dsPIC33CDV128MP206-I/M9 | ![]() |
128 kB | 16 kB | VGQFN-64 |
| dsPIC33CDV256MP206-I/M9 | ![]() |
256 kB | 24 kB | VGQFN-64 |
| dsPIC33CDVC128MP506-E/M9 | ![]() |
128 kB | 16 kB | VQFN-64 |
| dsPIC33CDVC128MP506-I/M9 | ![]() |
128 kB | 16 kB | VQFN-64 |
| dsPIC33CDV256MP206T-I/M9 | ![]() |
256 kB | 24 kB | VGQFN-64 |
| dsPIC33CDV128MP206-E/M9 | ![]() |
128 kB | 16 kB | VGQFN-64 |
| dsPIC33CDV256MP206-E/M9 | ![]() |
256 kB | 24 kB | VGQFN-64 |
| dsPIC33CDVC128MP506T-E/M9 | ![]() |
128 kB | 16 kB | VQFN-64 |
| dsPIC33CDVC128MP506T-I/M9 | ![]() |
128 kB | 16 kB | VQFN-64 |
Publié le: 2024-05-06
| Mis à jour le: 2024-06-20

