Microchip Technology Oscillateurs d'horloges standard DSC12X2/3/4
Les oscillateurs d'horloge standard DSC12X2/3/4 de Microchip Technology utilisent la technologie MEMS au silicium pour réduire le bruit de proximité et fournir un excellent vacillement. Les oscillateurs offrent une stabilité sur une large plage de tensions et de températures d'alimentation. Ces oscillateurs MEMS éliminent le besoin de technologie quartz ou SAW. Cela améliore considérablement la fiabilité et accélère le développement des produits. Ces dispositifs répondent à des critères stricts de performance d'horloge pour diverses applications de communication, de stockage et de mise en réseau.Caractéristiques
- Vacillement de phase RMS très faible <650 fs (std)
- Stabilité élevée : ±20 ppm, ±25 ppm, ±50 ppm
- Large plage de température
- Automobile de -40 °C à +125 °C (LVDS DSC12x3 uniquement)
- industrielle étendue : -40 °C à +105 °C
- industrielle : -40 °C à +85 °C
- commercial : -20 °C à +70 °C
- Prend en charge les sorties différentielles LVPECL, LVDS ou HCSL
- Sortie conforme PCIe Gén1-5
- Large gamme de fréquences de 2,5 MHz à 450 MHz
- Petites empreintes aux normes de l'industrie
- 2,5 mm à 2,0 mm
- 3.2mm x 2.5mm
- 5,0 mm x 3,2 mm
- 7,0mm x 5,0mm
- Excellente immunité aux chocs et aux vibrations
- Certifié MIL-STD-883
- Haute fiabilité
- - MTF 20 fois supérieure aux oscillateurs à quartz
- Plage d'alimentation de 2,25 V à 3,63 V
- Fonctions de veille, de sélection de fréquence et d'activation de sortie
- Sans plomb et conforme à la directive RoHS
Applications
- Réseaux de zones de stockage
- Réseaux optiques passifs
- Ethernet 10/100G
- Vidéo et surveillance HD/SD/SDI
- PCI Express Gén 1/2/3/4
- Display port
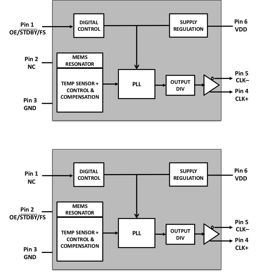
Schéma fonctionnel
Publié le: 2022-10-03
| Mis à jour le: 2022-10-04
