Microchip Technology Oscillateurs MEMS haute performance DSA12x1/2/3/4
Les oscillateurs haute performance MEMS DSA12x1/2/3/4 de Microchip Technology sont des solutions de synchronisation avancées conçues spécifiquement pour les applications automobiles nécessitant une haute fiabilité et une grande précision. Ces oscillateurs de Microchip utilisent une technologie de systèmes micro-électromécaniques (MEMS) pour fournir des performances supérieures dans des environnements difficiles, offrant une excellente tenue de la fréquence selon la température, les chocs et les vibrations. La série DSA12x1 fournit une sortie CMOS, tandis que la série DSA12x2/3/4 prend en charge les sorties différentielles telles que LVPECL, LVDS et HCSL, ce qui rend les dispositifs adaptés aux systèmes de transmission de données à haut débit. Avec une homologation AEC-Q100, une faible gigue de phase et de larges plages de température de fonctionnement, ces oscillateurs sont idéaux pour une utilisation dans les systèmes d'aide à la conduite (ADAS)), les systèmes d'infodivertissement, les réseaux automobiles et autres produits d'électronique automobile indispensable. L'emballage compact et les fonctionnalités programmables améliorent encore la flexibilité de conception et l'intégration dans les plates-formes automobiles modernes.Caractéristiques
- Qualification automobile AEC-Q100
- Gammes de fréquences
- De 2,5 MHz à 170 MHz pour le DSA12x1
- De 2,5 MHz à 450 MHz pour le DSA12x2/3/4
- Prend en charge les sorties différentielles LVPECL, LVDS ou HCSL (DSA12x2/3/4 uniquement)
- Gigue de phase RMS très faible (<650 fs="">650>
- Conformité aux caractéristiques techniques d'horloge commune PCIe Gen1/2/3/4/5/6 (uniquement DSA12x2/3/4)
- Haute stabilité (±20 ppm, ±25 ppm, ±50 ppm)
- Large plage de températures
- Qualité automobile 1 : -40 °C à +125 °C
- Qualité automobile 2 : -40 °C à +105 °C
- Qualité automobile 3 : -40 °C à +85 °C
- Petites empreintes conformes aux normes de l'industrie (CDFN/VDFN pour DSA12x2/3/4, VDFN pour DSA12x1)
- 2,5 mm × 2,0 mm, 6 fils
- 3,2 mm × 2,5 mm, 6 fils
- 3,2 mm × 5,0 mm, 6 fils
- 7,0 mm × 5,0 mm, 6 fils
- Excellente immunité aux chocs et aux vibrations, homologation MIL-STD-883
- Haute fiabilité, temps moyen avant défaillance (MTBF) 20 fois meilleur qu'avec les oscillateurs à quartz
- Plage d'alimentation de 2,25 V à 3,63 V
- Fonctions d'activation de sortie, sélection de la fréquence et mode veille
- Sans plomb et sans halogénure (Conforme à la directive RoHS)
Applications
- Systèmes d'info-divertissement automobiles
- Systèmes d'aide à la conduite (ADAS) automobiles
- Réseau embarqué, bus CAN et Ethernet
Fiche technique
- Oscillateur MEMS CMOS haute performance DSA12x1 pour l'automobile
- Oscillateurs MEMS différentiels haute performance pour l'automobile DSA12x2/3/4
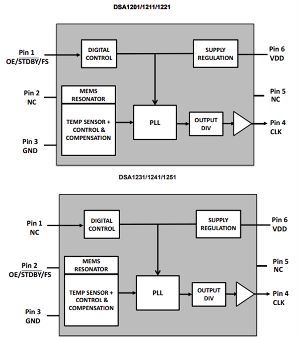
Schémas fonctionnels du DSA12x1
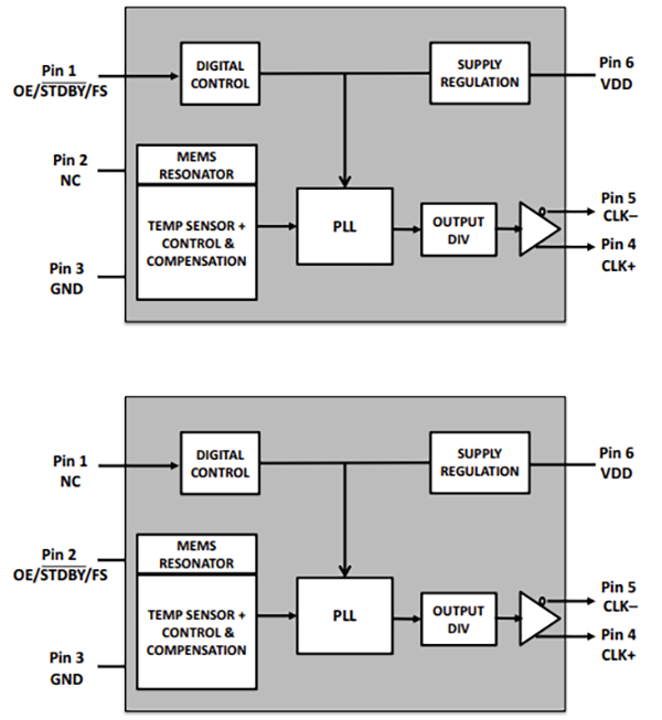
Schémas fonctionnels du DSA12x2/3/4
Publié le: 2025-08-05
| Mis à jour le: 2025-08-26
