Microchip Technology EEPROM série 1 Mbit 24CSM01
Les EEPROM série 24 CSM01 1 Mbit de Microchip Technology sont capables de vitesses jusqu’à 3,4 MHz et fonctionnent sur une plage de tension de 1,7 V à 5,5 V. Ces EEPROM série permettent à un maximum de huit dispositifs de partager un bus I2C commun (deux fils). Les EEPROM 24CSM01 sont organisés en 131 072 octets de 8 bits chacun (128 ko) et optimisés pour les applications grand public et industrielles. Ces EEPROM disposent d’un registre de sécurité de 4 kbits et la première moitié est en lecture seule. Le registre de sécurité contient un numéro de série programmé en usine, garanti unique et 128 bits pour les 16 premiers octets.Les EEPROM 24CSM01 contiennent un registre de configuration qui permet un comportement de protection en écriture et un verrouillage d’État de correction d’erreur (ECS) en lecture seule. Ces EEPROM série utilisent un système de Code de correction d’erreur (ECC) intégré qui peut corriger jusqu’à un bit de lecture incorrecte dans une lecture de quatre octets. Les EEPROM 24CSM01 prennent en charge la commande d’identification (ID) du fabricant I2C, qui renvoie une valeur unique au 24CSM01, permettant ainsi une identification facile au sein de l’application. Ces dispositifs série sont disponibles en boîtiers PDIP-8, SOIC-8, SOIJ-8, UDFN-8, TSSOP-8, MSOP-8 et WLCSP-8.
Caractéristiques
- EEPROM 1 Mbit :
- Organisé en interne en un seul 131 072 x 8 bits
- Écritures de pages ou d'octets jusqu'à 256 octets
- Lecture d’octets ou séquentielle
- Cycle d’écriture auto-temporisé (5 ms maximum)
- Interface I2C haut débit :
- Prise en charge du mode haut débit pour 3,4 MHz
- Norme de l’industrie : 1 MHz, 400 kHz et 100 kHz
- Contrôle de la pente de sortie pour éliminer le rebond de terre
- Entrées de déclenchement Schmitt pour la suppression du bruit
- Registre de sécurité
- Numéro de série 128 bits préprogrammé
- Page d’identification de 256 octets programmable et verrouillable par l’utilisateur
- Logique de Code de correction d’erreur (ECC) intégrée :
- Verrouillage de l’État de correction d’erreur (ECS) via le registre de configuration
- Prise en charge de la fonction d’identification du fabricant I2C
- Options de protection des données polyvalentes
- Broche de protection contre l’écriture matérielle (WP) pour une protection complète des données de matrice
- Protection améliorée en écriture logicielle via le registre de configuration
- Plage de tension de fonctionnement de 1,7 V à 5,5 V
- Technologie CMOS à faible puissance :
- Courant d’écriture : 3 mA maximum à 5,5 V
- Courant de lecture : 1 mA maximum à 5,5 V, 1 MHz
- Courant de veille : 1 µA à 5,5 V (I-temp)
- Haute fiabilité :
- Plus d'un million de cycles d'effacement/écriture
- Logique ECC intégrée pour une fiabilité accrue
- Rétention des données : > 200 ans
- Protection ESD : > 4 000 V
- Plages de températures :
- Industriel (I) : -40 °C à 85 °C
- Extension (E) : -40 °C à 125 °C
- Qualification automobile AEC-Q100
- Conforme à la directive RoHS
Configuration du système à l'aide des EEPROM série
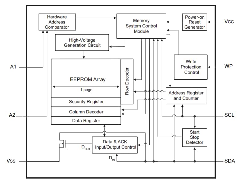
Schéma fonctionnel
Publié le: 2024-01-30
| Mis à jour le: 2024-02-01
