Microchip Technology EEPROM série I2C 3,4 MHz 24CS512
Les EEPROM série I2C 3,4 MHz 24CS512 de Microchip Technology fournissent 512 Kbits d'EEPROM série, en utilisant une interface série I2C (2 fils). Ils ont une capacité de mode haut débit de 3,4 MHz. Ces composants sont organisés en 65 536 octets de 8 bits chacun (64 ko) et sont optimisés pour une utilisation dans les applications grand public et industrielles où un stockage de mémoire non volatile fiable est essentiel. Le 24CS512 permet à jusqu'à huit composants de partager un bus I2C commun (2 fils) et est capable de fonctionner sur une large plage de tension (1,7 V à 5,5 V).Caractéristiques
- EEPROM 512 Kbits
- Organisé en interne en un bloc de 65 536 x 8 bits
- Écritures de pages ou d'octets jusqu'à 128 octets
- Lecture d'octets ou séquentielle dans un bloc
- Cycle d'écriture auto-temporisé (5 ms maximum)
- Interface I2C haut débit
- Prise en charge du mode haute débit pour 3,4 MHz
- Norme de l'industrie : 1 MHz, 400 KHz et 100 kHz
- Contrôle de la pente de sortie pour éliminer le rebond de la mise à la terre
- Entrées de type bascule de Schmitt pour la suppression du bruit
- Registre de sécurité
- Numéro de série 128 bits préprogrammé
- Page d'identification de 128 octets programmable et verrouillable par l'utilisateur
- Logique de code de correction d'erreur (ECC) intégrée
- Bit d'état ECC via le registre de configuration
- Prise en charge de la fonction d'identification I2C du fabricant
- Options de protection des données polyvalentes
- Broche de protection contre l'écriture (WP) matérielle pour une protection complète des données de réseau
- Protection d'écriture logicielle améliorée via le registre de configuration
- Tension de fonctionnement de 1,7 V à 5,5 V
- Technologie CMOS à basse consommation
- Courant d'écriture de 3,0 mA maximum à 5,5 V
- Courant de lecture 1,0 mA maximum à 5,5 V, 1 MHz
- Courant de veille : 1 µA à 5,5 V
- Haute fiabilité
- Plus d'un million de cycles d'effacement/écriture
- Logique ECC intégrée pour une fiabilité accrue
- Conservation des données : plus de 200 ans
- Protection ESD : >4 000 V
- Conforme à la directive RoHS
- Plages de température
- Applications industrielles (I) : -40 °C à 85 °C
Configuration du système à l'aide des EEPROM série
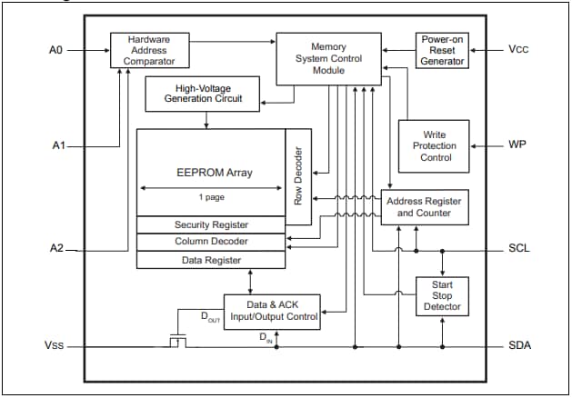
Schéma de principe
Ressources supplémentaires
- Mise en œuvre d'une communication de bus I2C de 3,4 MHz avec la famille d'EEPROM séquentiels ATSAMD21 et 24CS
- Utilisation d'une protection d'écriture logicielle améliorée dans les EEPROM séquentiels série 24CS
- Utilisation recommandée des composants EEPROM série I2 C™ Microchip
- Ajout de flexibilité en utilisant plusieurs empreintes pour les EEPROM série I2C™
Carte d'évaluation
Vidéos
Publié le: 2021-02-18
| Mis à jour le: 2022-03-11
