Microchip Technology I2C (2-wire) Serial EEPROMs
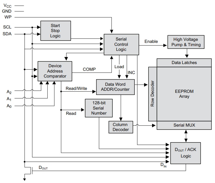
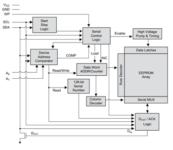
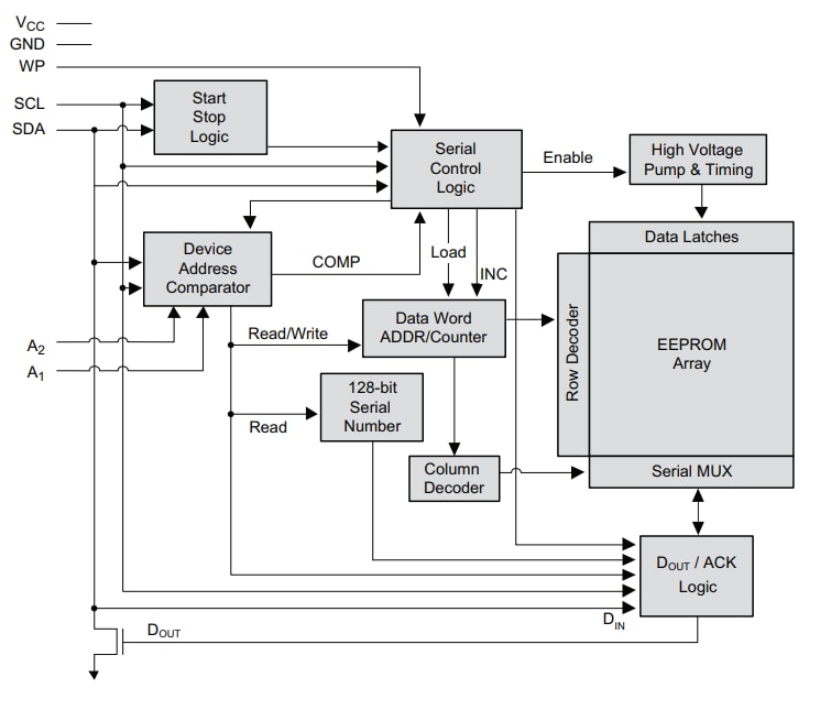
Microchip I2C (2-wire) Serial EEPROMs are compatible byte and page writable Serial EEPROMs designed to provide simple, yet flexible data storage for microcontroller, microprocessor, and SoC solutions. Devices have ultra-high write endurance capabilities allowing for greater than 1 million write cycles to each and every memory location to meet the needs of today’s high write endurance applications. These new devices include a factory-programmed 128-bit serial number which does not consume any of the user read/write area.Features
- Low-voltage Operation
- (VCC = 1.7V to 5.5V)
- AT24CS01 and AT24CS02
- Internally Organized as 128 x 8 (1-Kbit) or 256 x 8 (2-Kbit)
- AT24CS04 and AT24CS08
- Internally Organized as 512 x 8 (4-Kbit) or 1,024 x 8 (8-Kbit)
- AT24MAC402 and AT24MAC602
- Internally Organized as 256 x 8 (2K)
- I2C-compatible (2-wire) Serial Interface
- Schmitt Trigger, Filtered Inputs for Noise Suppression
- Bidirectional Data Transfer Protocol
- 400kHz (1.7V) and 1MHz (2.5V, 2.7V, 5.0V) Compatibility
- Write Protect Pin for Hardware Data Protection
- 8-byte or 16-byte Page Write Mode
- Partial Page Writes Allowed
- Self-timed Write Cycle (5ms Max)
- High-reliability
- Endurance: 1,000,000 Write Cycles
- Data Retention: 100 Years
- Green Package Options (Pb/Halide-free/RoHS-compliant)
- 8-lead JEDEC SOIC, 8-lead TSSOP, 8-pad UDFN, and 5-lead SOT23
- Die Sale Options: Wafer Form and Tape and Reel Available
Publié le: 2013-02-22
| Mis à jour le: 2022-03-11
