MACOM Carte d'évaluation CMPA2735030S-AMP1
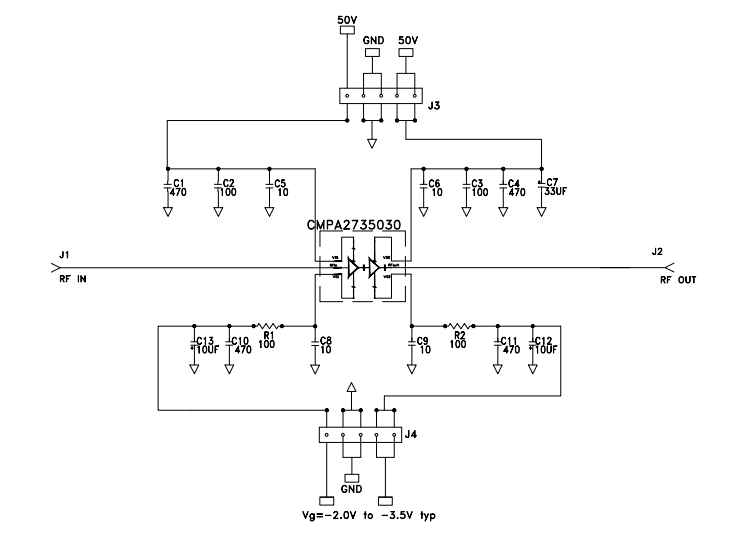
La carte d'évaluation CMPA2735030S-AMP1 de Wolfspeed est conçue pour évaluer l'amplificateur CMPA2735030S. L'amplificateur de puissance MMIC GaN de 2,7 GHz à 3,5 GHz 30 W CMPA2735030S dispose d'une conception d'amplificateur réactif à deux étages permettant une haute puissance et une efficacité accrue dans un boîtier QFN à montage en surface de 5 mm x 5 mm.La carte d'évaluation CMPA2735030S-AMP1 de Wolfspeed est fournie avec l'amplificateur CMPA2735030S installé.
Caractéristiques
- Gain en petits signaux de 32 dB
- Fonctionnement à un maximum de 50 V
- Tension de rupture élevée
- Fonctionnement à haute température
Circuit d'application
Publié le: 2021-09-10
| Mis à jour le: 2024-01-17
