Infineon Technologies CI compagnon TLE8082ES
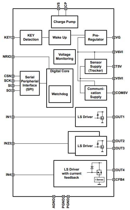
Le CI compagnon TLE8082ES Infineon Technologies est compatible avec les systèmes de moteur à combustion à 2/3 roues EURO5/BHARATVI conformes à la norme OBDII. Le CI convient aux systèmes centrés sur les technologies avancées d'injection électronique de carburant (EFI). Il est protégé contre les surchauffes et les surintensités et fournit des fonctionnalités de diagnostic pour chaque étage de puissance intégré. Le CI TLE8082ES intègre un pré-régulateur pour FET externes, une alimentation de capteur, une alimentation de communication pour les émetteurs-récepteurs embarqués, une interface SPI et quatre étages de puissance pour piloter les différents types de charge utilisés dans les systèmes de gestion de moteur.Caractéristiques
- Sources d’alimentation
- Pré-régulateur de tension avec FET externe
- Alimentation de capteur 5 V (entrée d'alimentation 5 V de suivi)
- Alimentation de communication 5 V (entrée d'alimentation 5 V de suivi)
- Fonction d'alimentation permanente
- Entrée CLÉ dédiée
- Fonctionnalité après démarrage
- Module watchdog à fenêtre
- 4 pilotes côté bas pour charges inductives avec protection contre les surchauffes, les surintensités et les charges ouvertes/courts-circuits à la masse lorsque la fonction de diagnostic est désactivée
- 3 étages de puissance côté bas
- 1 étage de puissance côté bas avec mesure de courant (chauffage O2)
- Interface périphérique en série (SPI)
- Produit écologique (conforme RoHS)
Applications
- Motos, véhicules à 2 ou 3 roues, et scooters
- Embarcations, bateaux et jet-skis
- Motoneiges
Schéma de principe
Publié le: 2021-09-09
| Mis à jour le: 2022-03-11
