Infineon Technologies Pilote LED intérieur LITIX™
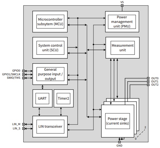
Le pilote LED d'intérieur LITIX™ d'Infineon Technologies pour l'éclairage d'ambiance automobile est un dispositif à trois canaux avec des étages de sortie intégrés et protégés. Ce pilote est conçu pour contrôler les LED RVB avec un courant jusqu'à 51,5 mA en tant que dissipateur de courant linéaire (LCS). Les étages de puissance peuvent être configurés en parallèle pour des courants de charge plus élevés et l'étage de sortie de puissance individuel est configurable via une valeur de consigne de courant de 5 bits. Le pilote LED LITIX™ utilise une interface LIN pour la programmation (via le chargeur d’amorçage (bootloader)), le contrôle et le retour d'information sur le diagnostic. Ce pilote dispose d'une mémoire flash intégrée de 32 kB, d'une SRAM intégrée de 3 kB et d'une mémoire intégrée 1000 TP de 576 octets.Caractéristiques
- pilote à 3 canaux (jusqu'à 51,5 mA chacun)
- Interface LIN avec auto-adressage LIN
- Cœur Arm Cortex ® -M23 32 bits
- Mémoire flash intégrée de 32 kB et SRAM intégrée de 3 kB
- Mémoire intégrée 1000 TP de 576 octets
- CAN différentiel de 11 bits pour une mesure de 0 V à 8 V
- Moteur MLI avec une résolution de 16 bits à 610 Hz
- ROM de démarrage pour les routines de mise en mémoire flash du micrologiciel de démarrage
- Oscillateur sur puce
- Débogage avec 2 fils SWD
- 2 GPIO supplémentaires
- Petit boîtier plombé (TFDSO-16)
- Facile à programmer avec un microcontrôleur (MCU) bien connu
- Développement de logiciel facile et stable
- Flexibilité maximale de l'application
- Fonctions de contrôle et de détection supplémentaires
Schéma fonctionnel
Circuit d'application standard
Ressources supplémentaires
Publié le: 2025-09-23
| Mis à jour le: 2025-10-13
