Infineon Technologies Interfaces HyperRAMs S70KL1282 et S70KL1283
Les HyperRAM d'interface S70KL1282 et S70KL1283 d'Infineon Technologies sont des CMOS haute vitesse, DRAM à rafraîchissement automatique, avec des interfaces HYPERBUS™. La matrice DRAM utilise des cellules dynamiques qui nécessitent un rafraîchissement périodique. La logique de contrôle de rafraîchissement au sein du dispositif gère les opérations de rafraîchissement sur le réseau DRAM lorsque la mémoire n'est pas lue ou écrite activement par l'interface HYPERBUS maître (hôte). Comme l’hôte n’est pas requis pour gérer des opérations de rafraîchissement, la matrice DRAM apparaît à l’hôte comme si la mémoire utilise des cellules statiques qui conservent les données sans les actualiser. La mémoire est décrite plus précisément comme une RAM Pseudo-statique (PSRAM).Caractéristiques
- Interface
- Interface HYPERBUS
- Prise en charge d’interface 1,8 V/3,0 V
- Signaux de bus à horloge asymétrique (CK) - 11
- Signaux de bus - 12 d’horloge différentielle (CK, CK#) optionnels
- Sélection de puce (CS#)
- Bus de données 8 bits (DQ[7:0])
- Réinitialisation matérielle (n° de réinitialisation)
- Course de données en lecture/écriture bidirectionnelle (RWDS)
- Sortie au début de toutes les transactions pour indiquer la latence de rafraîchissement
- Sortie pendant la lecture des transactions comme lecture de données stroboscopiques
- Saisie pendant les transactions d’écriture comme masque de données d’écriture
- Saut de lecture centre DDR optionnel (DCARS)
- Pendant la lecture des transactions, les RWDS sont compensés par une seconde horloge, à décalage de phase par rapport à CK
- L’horloge à décalage de phase est utilisée pour déplacer le bord de transition RWDS dans l’œil de lecture des données
- Performances, puissance et boîtiers
-
- Fréquence d’horloge maximale 200 MHz
- DDR - transfère des données sur les deux bords de l’horloge
- Débit de données jusqu’à 400 Mb/s (3 200 Mb/s)
- Caractéristiques de rafale configurables
- Rafale linéaire
- Longueurs de rafales enveloppées
- 16 octets (huit horloges)
- 32 octets (16 horloges)
- 64 octets (32 horloges)
- 128 octets (64 horloges)
- Option hybride - une rafale enveloppée suivie d’une rafale linéaire sur 64 Mo. La rafale linéaire à travers la limite de la puce n’est pas prise en charge.
- Puissance d’entraînement de sortie configurable
- Modes de puissance
- Mode veille hybride
- Mise à l’arrêt
- Rafraîchissement des matrices
- Tableau de mémoire partielle (1/8, 1/4, 1/2, et ainsi de suite)
- Intégral
- Boîtier
- FBGA à 24 billes
-
- Industriel : -40 °C à 85 °C
- Industriel Plus (V) –40 °C à 105 °C
- Automobile, AEC-Q100 classe 3, plage de températures de fonctionnement -40 °C à +85 °C
- Automobile, AEC-Q100 classe 2 –40 °C à 105 °C
- Caractéristiques de rafale configurables
-
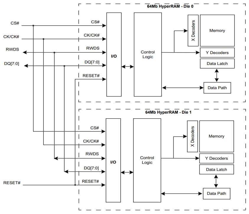
Schéma fonctionnel
Publié le: 2021-05-11
| Mis à jour le: 2023-09-04
