Futaba AH Series Slim Design Display Modules
Futaba AH Series Slim Design Display Modules are a complete display solution in a compact package. The devices offer display options between 20×2 or full dot matrix and VFD or FSTN-LCD with various case color options. The high-contrast displays use a non-glare filter and are available in various fonts. The Futaba AH Series Slim Design Display Modules are BLUETOOTH®-compatible and ideal for POS, audio tuners, and sub-display applications.Features
- Display Options:
- 20×2 or Full Dot Matrix
- VFD or FSTN-LCD
- Slim 13mm Display with Attached Self Supporting Base
- Display Head Tilts up to 40 Degrees
- BLUETOOTH Connectable
- ANK (AH148, AH156):
- USA, France, Germany, Japan, Korea, etc (1byte character)
- Kanji (AH147, AH145):
- ANK+Japan (Shift JIS), China (Simplified/Traditional), Korea (2byte character)
Applications
- POS
- Audio Tuner Devices
- Sub Display Devices
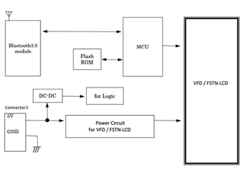
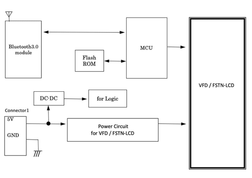
BLUETOOTH Diagram
Selectable Displays Chart
Specifications
Publié le: 2019-02-01
| Mis à jour le: 2023-03-24
