FTDI Chip CI UART USB FT232RN
Les CI UART USB FT232RN de FTDI Chip offrent des modes USB vers UART série et bit-bang/GPIO avec une sortie de générateur d'horloge en option. Le FT232RN fournit des modes d'interface bit-bang asynchrones et synchrones. Les conceptions série vers USB utilisant le FT245RN ont été également simplifiées par l'intégration totale de l'EEPROM externe, du circuit d'horloge et des résistances USB.Les CI UART USB FT232RN de FTDI Chip sont des puces « 3-en-1 » pour certaines zones d'application, ajoutant deux nouvelles fonctions par rapport à ses prédécesseurs. L'horloge générée en interne (6 MHz, 12 MHz, 24 MHz et 48 MHz) peut être séparée du FT232RN et utilisée pour piloter un microcontrôleur ou une logique externe.
Le FT232RN est logé dans des boîtiers compacts SSOP à 28 broches sans Pb (conforme à la directive RoHS) (FT232RNL) et QFN à 32 broches (FT232RNQ).
Caractéristiques
- Interface de transfert de données série asynchrone USB vers une seule puce
- Le protocole USB complet est traité sur la puce sans programmation de micrologiciel spécifique USB requise
- Descripteurs de dispositif de stockage EEPROM 1 024 bits entièrement intégrés et configuration E/S CBUS
- Résistances de terminaison USB entièrement intégrées
- Génération d'horloge entièrement intégrée sans quartz externe requis et sélection de sortie d'horloge en option permettant une interface sans colle vers un microcontrôleur externe ou un FPGA
- Débits de transfert de données de 300 bauds à 3 Mbaud (RS422, RS485, RS232) aux niveaux TTL
- Tampon de réception 128 octets et tampon de transmission 256 octets utilisant la technologie de lissage de tampon pour permettre un haut débit de données
- Les pilotes de ports Com virtuels (VCP) et directs (D2XX) exempts de redevances de FTDI éliminent le besoin de développement de pilotes USB dans la plupart des cas.
- Caractéristique FTDIChip-ID™ USB unique
- Broches E/S CBUS configurables
- Signaux d'entraînement LED de transmission et de réception
- L'interface UART prend en charge les données 7 ou 8 bits, 1 ou 2 bit(s) d'arrêt et impair / pair / marque / espace / sans parité
- Options d'interface bit-bang synchrone et asynchrone avec n° RD et n° WR
- PEPS reçoit et transmet des tampons pour un débit de données élevé
- Dispositif fourni pré-programmé avec un numéro de série USB unique
- Prend en charge les configurations USB alimentées par bus, auto-alimentées et alimentées par bus à haute puissance
- Convertisseur de niveau +3,3 V intégré pour E/S USB
- Convertisseur de niveau intégré sur UART et CBUS pour l'interface entre logique +1,8 V et +5 V
- Sortie de pilote CMOS réelle 5 V/3,3 V/2,8 V/1,8 V et entrée TTL
- Résistance d'entraînement de sortie de broche E/S configurable
- Circuit de réinitialisation de mise sous tension intégré
- Filtrage d'alimentation AVCC entièrement intégré - aucun filtrage externe requis
- Option d'inversion de signal UART
- Exploitation à alimentation simple de +3,3 V à +5,25 V
- Faible courant de fonctionnement et de suspension USB
- Faible consommation de largeur de bande USB
- Compatible contrôleur hôte UHCI/OHCI/EHCI
- Compatible USB 2.0 pleine vitesse
- Plage de température de fonctionnement étendue de -40 °C à +85 ºC
- Disponible en boîtiers SSOP à 28 broches et QFN-32 compacts sans plomb (tous deux conformes à la directive RoHS)
Applications
- Convertisseurs USB vers RS232/RS422/RS485
- Mise à niveau des périphériques existants vers USB
- Câbles et interfaces de transfert de données USB pour téléphone cellulaire et sans fil
- Interfaçage des conceptions basées sur MCU/PLD/FPGA avec USB
- USB audio et transfert de données vidéo à faible largeur de bande
- Transfert de données de PDA vers l'USB
- Lecteurs de cartes intelligentes USB
- Instrumentation USB
- Contrôle industriel USB
- Interface de lecteur MP3 USB
- Lecteur et écriture de carte FLASH USB
- Interface PC boîtier adaptateur - USB
- Interface d'appareil photo numérique USB
- Modems matériels USB
- Modems USB sans fil
- Lecteurs de codes à barres USB
- Clés de cryptage matériel et logiciel USB
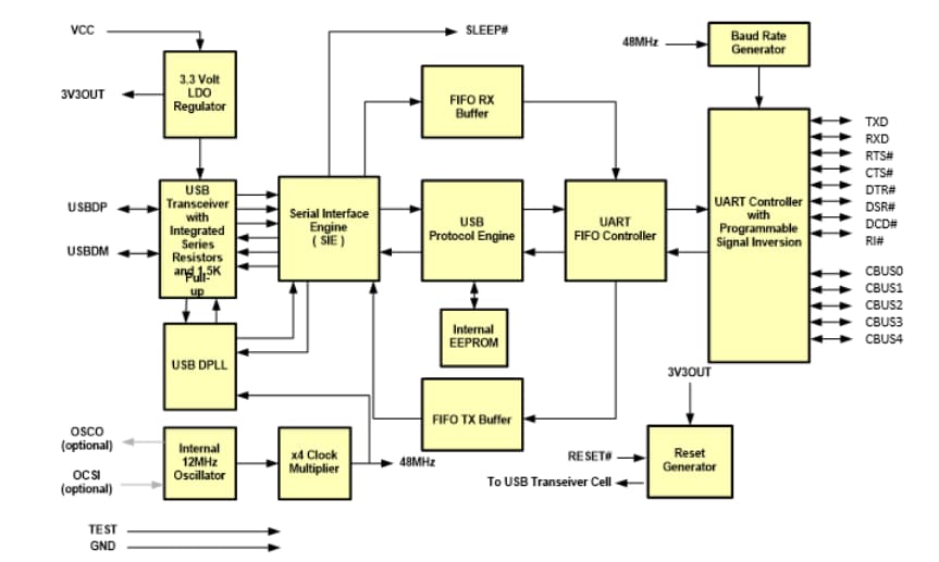
Schéma fonctionnel
Publié le: 2022-10-10
| Mis à jour le: 2022-10-20
