Epson ICs S1C17W15 Single Chip Microcontrollers
Epson S1C17W15 Single-Chip Microcontrollers are 16-bit MCUs. These MCUs feature low-voltage operation from 1.2V and a 64KB flash memory. The S1C17W15 MCUs also feature an embedded high-efficiency DC to DC converter that generates constant voltage to drive the IC with lower power consumption than 4-bit MCUs. The S1C17W15 MCUs include a 4KB RAM, a stopwatch, and an LCD driver. These MCUs are equipped with a PWM timer that generates a drive waveform for a motor driver and a high-performance 16-bit CPU. The S1C17W15 MCUs find purpose in battery-driven applications requiring LCDs and timers.Features
- Seiko Epson original 16-bit RISC CPU core S1C17
- Low standby power consumption with a 0.5µA at HALT stage in super economy mode
- On-chip debugger
- Embedded flash memory
- 64KB
- 4KB embedded RAM
- Clock generator
- Watchdog timer and real-time clock
- 16-bit timer (T16) and 16-bit PWM timer(T16B)
- Supply Voltage Detector (SVD) with a detection accuracy of ±3%
- Universal Asynchronous Receiver-Transmitter (UART), Synchronous Serial Interface (SPIA), and I2C interfaces
- LCD driver
- R/F converter
- 1.2VDD to 3.6VDD operating voltage range
- -40°C to 85°C operating temperature range
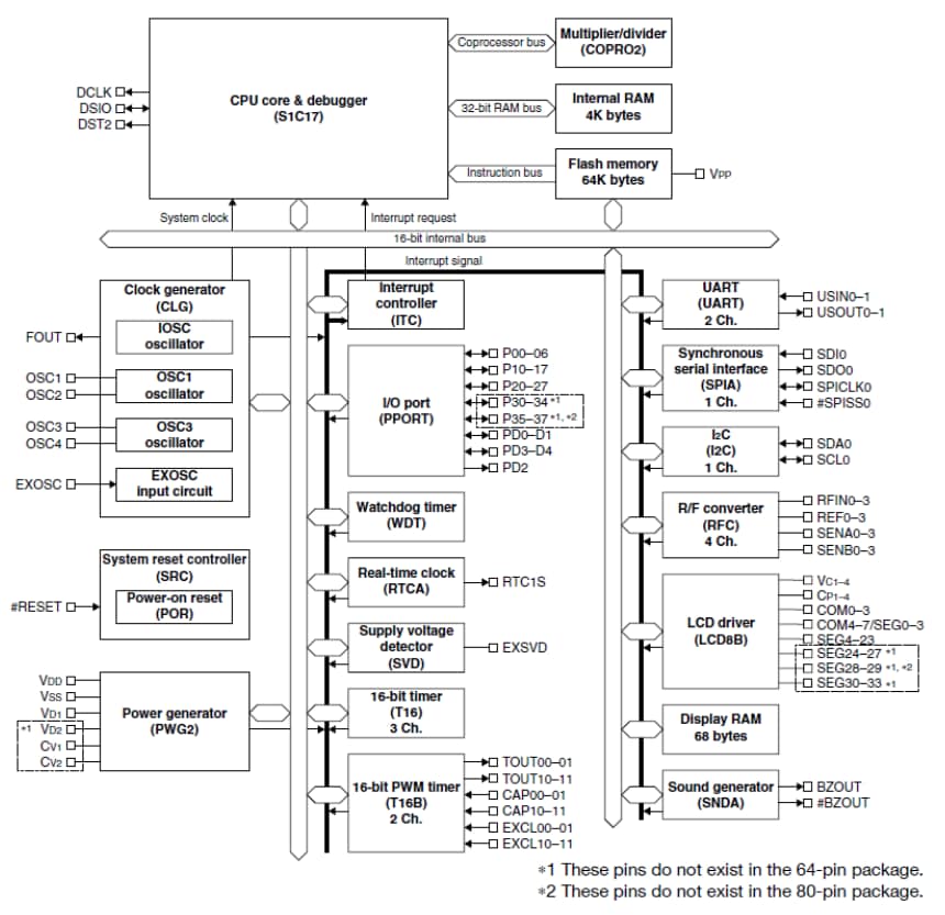
S1C17W15 Single Chip Microcontrollers Block Diagram
Additional Resource
Publié le: 2018-04-19
| Mis à jour le: 2022-08-12
