Texas Instruments Module d'alimentation abaisseur MagPack™ TPSM82866C
Le module d'alimentation abaisseur MagPack™ TPSM82866C de Texas Instruments est un module abaisseur ultra-compact de 6 A avec une inductance intégrée et une interface I2C. Ce module dispose d'une entrée de 5,5 V dans un boîtier MagPack avec des dimensions de seulement 2,3 mm x 3 mm, fournissant une densité de puissance de près de 1 A sur une zone de 1 mm2. La technologie MagPack de TI intègre un convertisseur abaisseur synchrone et une inductance pour simplifier les conceptions, économiser de la surface sur le PCB et réduire le nombre de composants externes. L'interface I2C offre un moyen efficace d'ajuster la tension de sortie, de définir la vitesse de rampe VOUT lors de la transition vers un nouveau point de consigne et de lire les informations d'état telles que les avertissements thermiques ou les indicateurs de limite du courant. Les protections contre les courts-circuits de surtempérature et de blocage offrent une conception robuste et fiable. Le module d'alimentation MagPack TPSM82866C de Texas Instruments est compact et efficace, ce qui le rend idéal pour l'assemblage automatisé via des équipements standard de montage en surface.Caractéristiques
- Efficacité jusqu'à 96 %
- Excellentes performances thermiques
- Interface compatible I2C jusqu'à 3,4 Mb/s
- Programmable I2C
- Tension de sortie
- 0,4 : 1,675 V par incréments de 5 mV
- 0,8 : 3,35 V par incréments de 10 mV
- MLI forcé ou mode d'économie d'énergie
- Décharge de tension de sortie
- Tension de sortie
- Récupération de l'état du dispositif I2C
- Avertissement thermique
- Limite du courant de blocage
- VIN inférieure à UVLO
- Résistance sélectionnable
- Adresse I2C
- 16 options de tension de sortie de démarrage
- Précision de la tension de sortie de 1 %
- Topologie DCS-Control pour une réponse transitoire rapide
- Courant de repos en fonctionnement de 4 µA
- Optimisé pour les exigences de faible EMI
- Boîtier sans fil de liaison
- La technologie MagPack protège l'inductance et le CI
- Schéma simplifié grâce au brochage optimisé
- Plage de température de fonctionnement de -40 °C à +125 °C
- Boîtier QFN de 2,3 mm x 3 mm x 1,95 mm
- Taille de conception de 28 mm2
Applications
- Approvisionnement de base pour les FPGA, les CPU et les ASIC
- Modules optiques
- Imagerie médicale
- Automatisation d'usine et contrôle
- Aérospatiale et défense
Schéma d'application standard
Efficacité
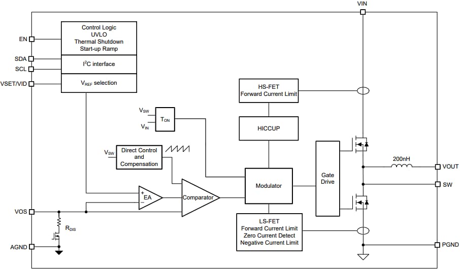
Schéma fonctionnel
Ressources supplémentaires
Publié le: 2024-07-18
| Mis à jour le: 2025-01-29
