Diodes Incorporated Réadaptateur USB 3.2 PI3EQX2024
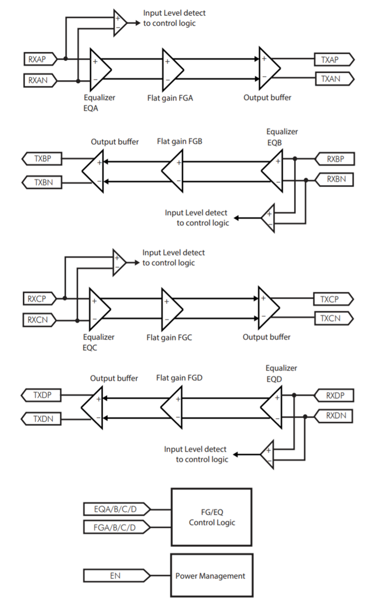
Le réadaptateur USB 3.2 PI3EQX2024 de Diodes Incorporated est un réadaptateur ReDriver™ linéaire 2x2 Gen à faible puissance et hautes performances conçu spécifiquement pour le protocole USB 3.2. Ce composant fournit une égalisation programmable, un basculement linéaire et un gain plat pour optimiser les performances sur divers supports physiques en réduisant les interférences entre symboles. Le réadaptateur PI3EQX2024 dispose d'une liaison série de 5 Gbit/s et 10 Gbit/s avec un égaliseur linéaire et prend en charge deux E/S de données CML différentielles de 100 Ω. Ces E/S connectent l'ASIC de protocole à une matrice de commutation, soit via un câble, soit en étendant les signaux à travers d'autres chemins de données sur la plateforme de l'utilisateur. Le PI3EQX2024 comprend également une fonction de détection automatique de récepteur et est fourni dans un boîtier UQFN à 34 broches de 2,5 mm x 4,5 mm (ZTF34). Idéalement, cet appareil est utilisé dans les ordinateurs portables, les ordinateurs, les smartphones et les applications de stockage.Caractéristiques
- Compatible USB 3.2 Gen 2 et Gen 1
- Compatible USB 3.2 Gen 2x2
- Liaison série 5 Gbit/s et 10 Gbit/s avec égaliseur linéaire
- Égalisation de récepteur réglable par broche
- Gain plat réglable par broche
- Tension d'alimentation unique de 3,3 V
- E/S CML différentielles 100 Ω
- Quatre paires de signaux différentiels 10 Gbit/s
- Mode sommeil automatique pour une gestion adaptative de l'énergie
- Détection automatique du récepteur
- Technologie brevetée
- Totalement sans plomb et conforme à la directive RoHS
- Composant « vert » sans halogène ni antimoine
- Dispositif sans plomb et « vert »
- Boîtier UQFN à 34 broches de 2,5 mm x 4,5 mm (ZTF34)
Présentation des applications
Schéma fonctionnel
Publié le: 2022-03-10
| Mis à jour le: 2022-05-30
