Diodes Incorporated Commutateur SR côté secondaire APR34910
Le commutateur SR côté secondaire APR34910 de Diodes Inc. est un CI combiné côté secondaire associant un MOSFET à canal N et un circuit de commande conçu pour un redressement synchrone (SR). L'APR34910 prend en charge un fonctionnement flyback quasi résonnant et en mode de conduction continue et discontinue (CCM et DCM). Il fournit un délai d'allumage et d'arrêt court pour réduire la perte de puissance et élimine les faux déclencheurs pour maintenir un fonctionnement sûr sans ajouter de composants ou de circuits externes.L'APR34910 de Diodes Inc. peut être chargé par PLR (régulateur linéaire à impulsion) interne à une faible tension de sortie du système et fournit une large tension de fonctionnement en sortie de 3,3 V à 24 V. L'APR34910 est disponible en boîtier SO-8 (type CJ2).
Caractéristiques
- Prend en charge le redressement synchrone flyback avec mode de fonctionnement CCM/DCM/QR
- Contrôle intelligent pour minimiser le délai d'allumage et d'arrêt
- Contrôle d'effacement intelligent pour éviter les courants traversants
- Prend en charge les applications côté haut et côté bas
- Alimentation PLR intégrée pour une faible tension de sortie du système
- Protection interne UVLO
- Nombre très restreint de composants externes
- Sans plomb et conforme à la directive RoHS
- Composant « vert » sans halogène ni antimoine
Applications
- Chargeurs rapides pour smartphones
- Adaptateurs pour ordinateurs portables
- Alimentations pour décodeurs (STB)
- Autres adaptateurs/chargeurs CA-CC de commutation compacts
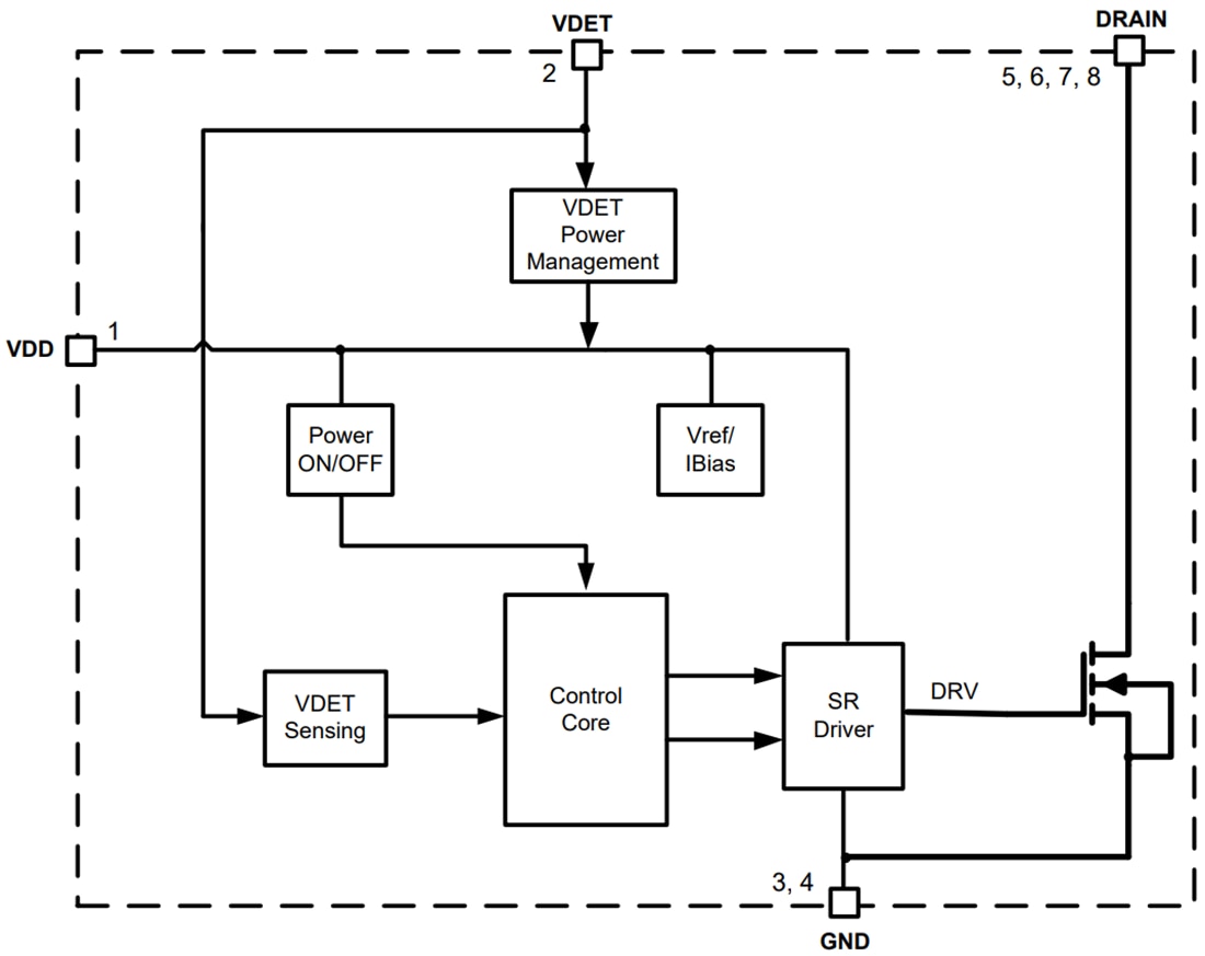
Diagramme fonctionnel
Publié le: 2022-02-16
| Mis à jour le: 2022-04-29
