Diodes Incorporated Contrôleur d'alimentation USB Type-C haute performance AP43771
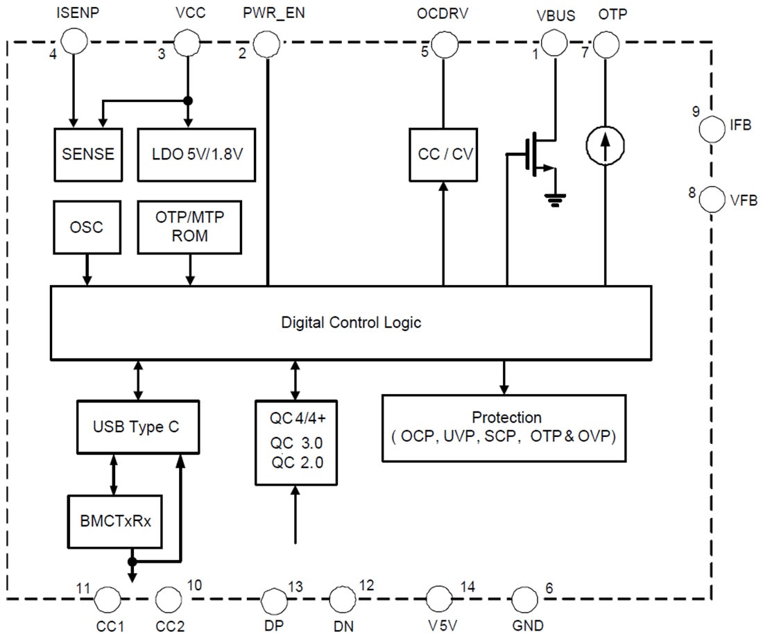
Le contrôleur d'alimentation USB Type-C™ haute performance AP43771 de Diodes Inc. est destiné aux applications d’adaptateur et de chargeur USB Type-C. L'AP43771 de Diodes Inc. est compatible avec le protocole Qualcomm QC4/QC4 +, qui prend en charge la spécification d’alimentation USB Rev3.0 V1.2 (y compris la prise en charge PPS en option). L'AP43771 peut prendre en charge PPS APDO (Objet de données de puissance augmentée) avec une résolution de tension de 20 mV/incrément et une résolution de courant de 50 mA/incrément pour la gestion de l’alimentation. En outre, sont également intégrées la compensation des pertes de câble et la commande SOP & rsquo pour la détection de marqueurs électroniques. L'AP43771 peut fournir un schéma de protection robuste avec ses fonctions OVP/OCP/SCP/OTP intégrées.Caractéristiques
- Compatible avec USB PD Rev3.0 V1.2
- Certifié USB-IF PD3.0/PPS ; TID = 1090028
- Certifié conforme au protocole Qualcomm QC4/4+
- Mémoire programmable une seule fois (OTP) pour le microprogramme principal
- Mémoire programmable de multiples fois (MTP) pour la configuration du système
- Régulateur intégré pour contrôle de tension constante (CV) ou de courant constant (CC)
- Prise en charge des modes SCP/OTP/OVP/UVP avec redémarrage automatique
- Prise en charge du mode économie d'énergie
- Contrôlable par un MOSFET-N externe pour alimenter un VBUS
- Prise en charge de la détection des puces e-Marker des câbles
- Plage de tension de fonctionnement : 3,3 V à 20 V
- Réduit le nombre de composants externes requis
- Sans plomb et conforme à la directive RoHS
- Composant « vert » sans halogène ni antimoine
Applications
- Adaptateur/chargeur USB Type-C
- Convertisseur d'alimentation USB
Infographie
Schéma de principe fonctionnel
Publié le: 2020-01-17
| Mis à jour le: 2024-07-03
