Diodes Incorporated Doubles verrous automobiles à effet Hall AH396xQ
Les doubles verrous automobiles à effet Hall AH396xQ de Diodes Incorporated sont des capteurs haute tension conçus avec une détection précise de la vitesse et de la direction. Ces doubles verrous à effet hall fournissent une alimentation compensée en température pour les circuits internes avec une architecture stabilisée par hacheur et un régulateur interne de bande interdite. Les verrous AH396xQ fonctionnent sur une plage de tension d’alimentation de 2,7 V à 27 V et une plage de température de −40 °C à 125 °C. Ces verrous offrent une protection de connexion inverse de polarité de batterie, une protection contre les pics de tension transitoire et une protection UVLO . Les verrous AH3965/AH3966/AH3967 fournissent des sorties de vitesse et de direction, tandis que le AH3968 fournit deux sorties indépendantes.Ces verrous automobiles sont sans plomb ni halogène ni antimoine, entièrement conformes à la directive RoHS et homologués AEC-Q100/101/104/200. Les applications standard incluent notamment : des moteurs industriels, des appareils électroménagers, des pompes, la détection de la vitesse et de la direction de rotation, la détection de vitesse et de direction linéaires et la détection de position angulaire.
Caractéristiques
- Vitesse et direction de sortie (AH3965/AH3966/AH3967) et Sorties doubles (AH3968)
- Large plage de tension d’alimentation de 2,7 V à 27 V
- La conception de l'amplificateur stabilisé par découpage fournit :
- Haute stabilité de la température
- Dérive minimale du point de commutation
- Immunité renforcée au stress
- Protection contre l'inversion de polarité de batterie
- Protection contre les surtensions transitoires
- Protection contre les sous-tensions (UVLO)
- HBM = 5 kV, CDM = 2 kV de taux de DES élevé
- Plage de température de fonctionnement de −40 °C à 125 °C
- Sans plomb ni halogène ni antimoine
- Conforme à la directive RoHS
Applications
- Moteurs industriels
- Électroménager
- Pompes
- Détection de vitesse et de direction de rotation
- Détection de vitesse et de direction linéaires
- Détection de position angulaire
Schéma de circuit d’application
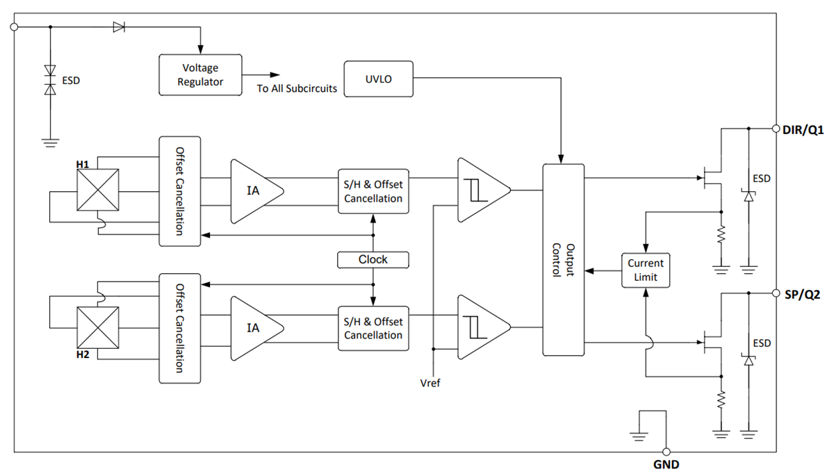
Schéma fonctionnel
Publié le: 2023-08-09
| Mis à jour le: 2023-08-21
