Diodes Incorporated CI de verrouillage à effet Hall AH3722A et AH3724A
CI de verrouillage à effet Hall AH3722A et AH3724A Diodes Incorporated conçus pour diverses applications, notamment les moteurs CC brushless, les débitmètres, les encodeurs linéaires et les capteurs de position. Les dispositifs de Diodes Incorporated prennent en charge un large éventail d’applications, fonctionnant sur une plage d’alimentation allant de 3,0 V à 28 V. Les CI disposent d’une architecture stabilisée par hacheur et d’un régulateur interne à bande interdite, assurant une alimentation compensée en température pour ses circuits. De plus, les CI comprennent une pince Zener sur l’alimentation et la sortie avec une limite de surintensité et une pince Zener pour une robustesse et une protection améliorées.Caractéristiques
- Verrou ipolaire (pôle Sud : MARCHE, pôle Nord : ARRÊT)
- plage de tension de fonctionnement de 3,0 V à 28 V
- BOP et Brp de 25 G à 40 G et -25 G à -40 G haute sensibilité standard
- Résistance d’excursion interne sur la broche de sortie
- Résistant au stress physique
- Limite de surintensité de sortie
- La conception stabilisée par hacheur offre une stabilité de température supérieure, une dérive minimale du point de commutation et une immunité améliorée aux contraintes
- Bonne immunité au bruit RF
- Diode de blocage inverse et pince Zener sur l’alimentation
- Température de fonctionnement : de -40 °C à +125 °C
- HBM à ESD élevé 8 kV
- Boîtiers aux normes de l’industrie SC59, SOT23 (type S), SIP-3 (boîtier ammo) et SIP-3 (vrac)
- Totalement sans plomb et conforme à la directive RoHS
- Composant « vert » sans halogène ni antimoine
Applications
- Commutation de moteur CC brushless
- Mesure des tours par minute (t/min.)
- Débitmètres
- Encodeurs angulaires et linéaires et capteurs de position
- Commutation sans contact, mesure de la vitesse et détection/indexation de position angulaire dans les appareils électroménagers grand public, les équipements de bureau et les applications industrielles
Circuit d’applications standard
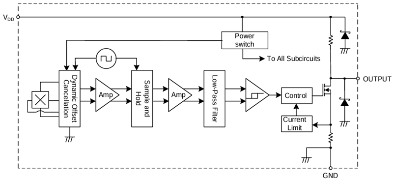
Schéma fonctionnel
Publié le: 2024-02-21
| Mis à jour le: 2024-03-07
