Diodes Incorporated Commutateurs unipolaires à effet Hall et haute tension AH332x
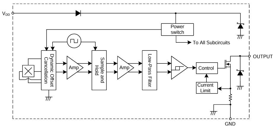
Les commutateurs unipolaires à effet Hall et haute tension Diodes Incorporated AH332x sont conçus pour les applications industrielles et grand public. Ces applications comprennent la détection de proximité, de position et de niveau dans les appareils électroménagers et les dispositifs de soins personnels. Le AH332x de Diodes Incorporated fonctionne de manière transparente dans une plage d’alimentation de 3,0 V à 28 V, assurant une compatibilité avec diverses utilisations exigeantes. L’architecture stabilisée par hacheur et le régulateur interne de bande interdite offrent une alimentation compensée en température pour une fiabilité sur l’ensemble de la plage de fonctionnement. De plus, le dispositif intègre des caractéristiques de protection telles qu’une diode de blocage inverse avec une pince Zener sur l’alimentation, une limite de surintensité et une pince Zener en sortie.Caractéristiques
- Fonctionnement unipolaire
- BOP et Brp de 30 G à 115 G et 20 G à 90 G haute sensibilité standard
- sortie simple à drain ouvert avec limite de surintensité
- plage de tension de fonctionnement de 3,0 V à 28 V
- Résistant au stress physique
- La conception stabilisée par hacheur offre une stabilité de température supérieure
- Dérive minimale du point de commutation
- Immunité renforcée au stress
- Bonne immunité au bruit RF
- Diode de blocage inverse
- Pince Zener sur les broches d’alimentation et de sortie
- Température de fonctionnement : de -40 °C à +125 °C
- HBM à ESD élevé 8 kV
- Boîtiers aux normes de l’industrie SC59, SOT23 (type S), SIP-3 (boîtier ammo) et SIP-3 (vrac)
- Totalement sans plomb et conforme à la directive RoHS
- Composant « vert » sans halogène ni antimoine
Applications
- Détection de position et de proximité dans les appareils électroménagers grand public, l’automatisation des bâtiments, les équipements de bureau et les applications industrielles
- Détection d'ouverture et de fermeture
- Détection de position
- Détection de niveau
- Débitmètres
- Commutateurs sans contact
Circuit d’applications typiques
Schéma fonctionnel
Publié le: 2024-02-21
| Mis à jour le: 2024-03-06
