BeagleBoard Modules CC33 Wi-Fi® 6 et BLUETOOTH® 5.4 de BeagleMod
Les modules BeagleMod CC33 Wi-Fi® 6 et BLUETOOTH® 5.4 de BeagleBoard sont des modules sans fil combinés hautes performances Wi-Fi 6 de 2,4 GHz et Bluetooth Low Energy 5.4. Les modules BM3301 de BeagleBoard sont alimentés par la puce de connectivité CC3301 de la 10e génération de TI. Le BM3301 offre un débit d’application allant jusqu’à 50 Mbit/s et dispose d’un connecteur IPEX Gen 4 (modèle BM3301-1216). Le BeagleMod CC33 propose deux variantes : le BM3301-1313 (113991155) est un module BGA de 13 mm x 13 mm, dont l’empreinte est compatible avec la série WL18xxMOD de TI pour des mises à niveau de conceptions enfichables simples. Le BM3301-1216 (113991154) est un module LGA M.2 1216 de 12 mm x 16 mm qui comprend un connecteur d’antenne u.FL pour simplifier la disposition de la carte.Conçus pour des performances fiables dans des conditions extrêmes, les modules fonctionnent dans une plage de température de -40 °C à +85 °C ce qui les rend idéaux pour diverses applications nécessitant une connectivité sans fil robuste.
Caractéristiques
- Wi-Fi 6
- Bluetooth Low Energy 5.4
- Débit d’application jusqu’à 50 Mbit/s
- Connecteur IPEX Gen 4 (module BM3301-1216)
- Plage de température de fonctionnement de -40 °C à +85 °C
Applications
- Dispositifs IoT industriels
- Systèmes de domotique intelligente
- Technologie portable
- Dispositifs de surveillance des soins de santé
- Produits électroniques grand public
- Systèmes de communication automobile
- Systèmes intégrés et plateformes de développement
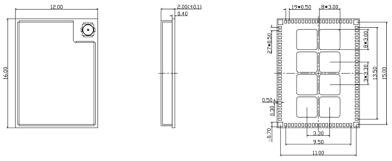
Dimensions
Publié le: 2025-01-09
| Mis à jour le: 2025-06-26
