Analog Devices / Maxim Integrated Accumulateurs de puissance à portée dynamique élevée MAX34427
Les accumulateurs de puissance à portée dynamique élevée MAX34427 d'Analog Devices sont des moniteurs de courant, de tension et d'alimentation spécialisés. Le MAX34427 est utilisé pour déterminer la consommation d'énergie des systèmes. La large portée dynamique du composant (20 000:1) permet une mesure de puissance précise. Le dispositif d’Analog Devices est configuré et surveillé avec une interface série I2C/SMBus standard. Le capteur de courant unidirectionnel offre précision et fonctionnement côté haut avec une faible tension de détection à pleine échelle.Caractéristiques
- Permet l'optimisation du code pour minimiser la consommation d'énergie
- Deux moniteurs d’alimentation avec une large portée dynamique de 86 dB
- Mesure le courant et la tension
- Capacité à mesurer uniquement le courant cumulé ou la puissance cumulée
- Consommation électrique réduite en mode d'accumulation lente
- Mode attente
- Minimise les frais de processeur avec un fonctionnement autonome
- Par canal, les accumulateurs de puissance 56 bits capturent 2,27 heures de données à 2 048 échantillons par seconde
- Registres de tension 14 bits par canal
- Solution de haute intégration minimisant le nombre de pièces, l’espace sur la PCB et le coût de nomenclature (BOM)
- Tension de détection de courant de 5μV à 100 mV avec une plage de courant en mode commun de 0,5 V à 24 V
- 16 adresses I2C programmables
- Interface I2C/SMBus avec temporisation de Bus
- Plage de température de - 40 °C à + 85 °C
- WLP à empreinte réduite de 2,24 mm x 1,91 mm avec 12 picots à pas de 0,5 mm et un boîtier TDFN à 12 broches 3 mm x 3 mm
- Facilité de développement
- Kit d'évaluation avec interface utilisateur graphique (GUI) avancée
Applications
- Tablettes
- Ordinateurs ultra portables
- Postes de travail
- Serveurs
- Casques VR/AR
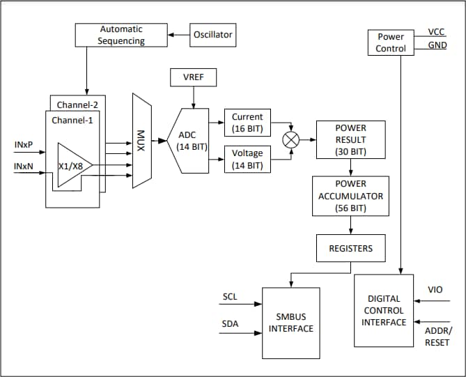
Schéma fonctionnel
Publié le: 2022-11-29
| Mis à jour le: 2023-04-14
