Analog Devices / Maxim Integrated MAX32660 Arm® Cortex®-M4 Microcontroller
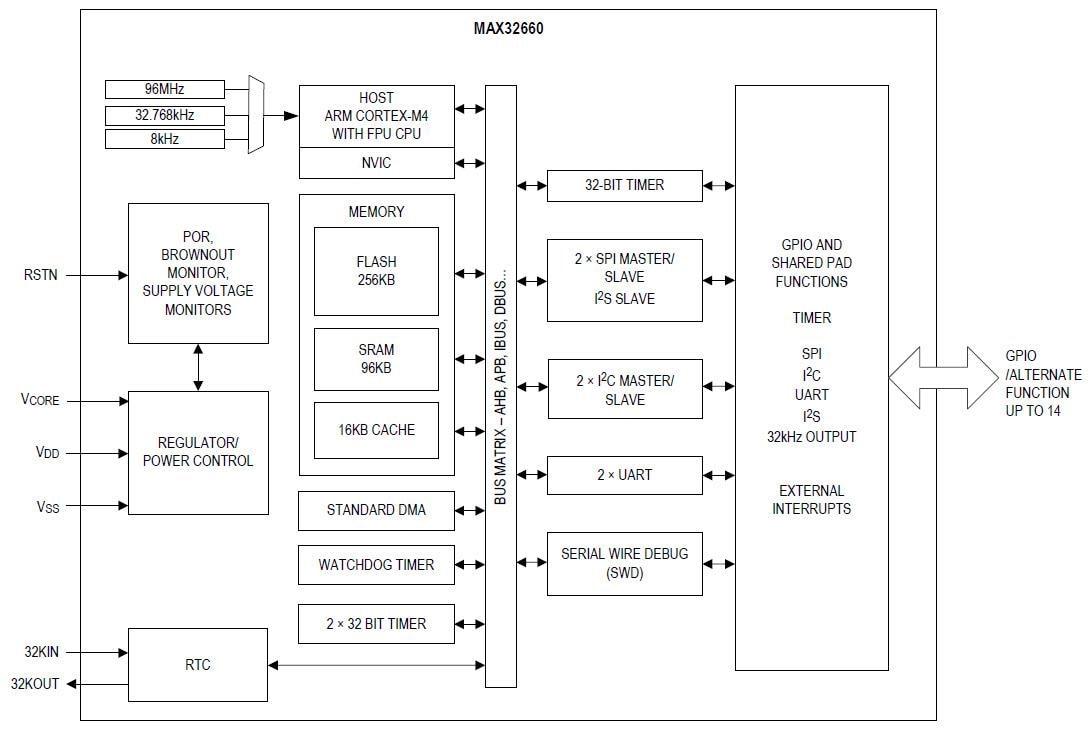
Analog Devices MAX32660 Arm® Cortex®-M4 Microcontroller is designed for battery-powered devices and wearable wireless sensors. The MAX32660 features ultralow power and combines a flexible and versatile power management unit with the powerful Arm Cortex-M4 floating point unit (FPU). The MAX32660 offers an easy and cost-optimal upgrade path for legacy designs from 8- or 16-bit microcontrollers.The Analog Devices MAX32660 Arm® Cortex®-M4 Microcontroller integrates up to 256KB of flash memory and 96KB of RAM to accommodate application and sensor code. The Maxim MAX32660 supports SPI, UART, and I2C communication in a tiny 1.6x1.6mm 16-bump WLP or 5x5mm 20-pin TQFN-EP form factor.
Features
- High-efficiency microcontroller for wearable devices
- The internal oscillator operates up to 96MHz
- 256KB Flash memory
- 96KB SRAM, optionally preserved in the lowest power backup mode
- 16KB instruction cache
- Memory Protection Unit (MPU)
- Low 1.1V VCORE supply voltage
- 3.6V GPIO operating range
- Internal LDO provides operation from a single supply
- -40ºC to +105°C wide operating temperature
- Power management maximizes uptime for battery applications
- 85μA/MHz active executing from Flash
- 2μA full memory retention power in backup mode at VDD = 1.8V
- 570nA ultralow power RTC at VDD = 1.8V
- Internal 8kHz ring oscillator
- An optimal peripheral mix provides platform scalability
- Up to 14 general-purpose I/O pins
- Up to two SPI master/slave
- I2S master/slave
- Up to two UARTs
- Up to two I2C master/slave
- Four-channel standard DMA controller
- Three 32-bit timers
- Watchdog timer
- CMOS-level 32.768kHz RTC output
Applications
- Sports watches
- Fitness monitors
- Wearable medical patches
- Portable medical devices
- Industrial sensors
- IoT
Videos
Block Diagram
Publié le: 2018-03-26
| Mis à jour le: 2023-12-22
