Analog Devices / Maxim Integrated Contrôleur d'alimentation multiphasé MAX20754
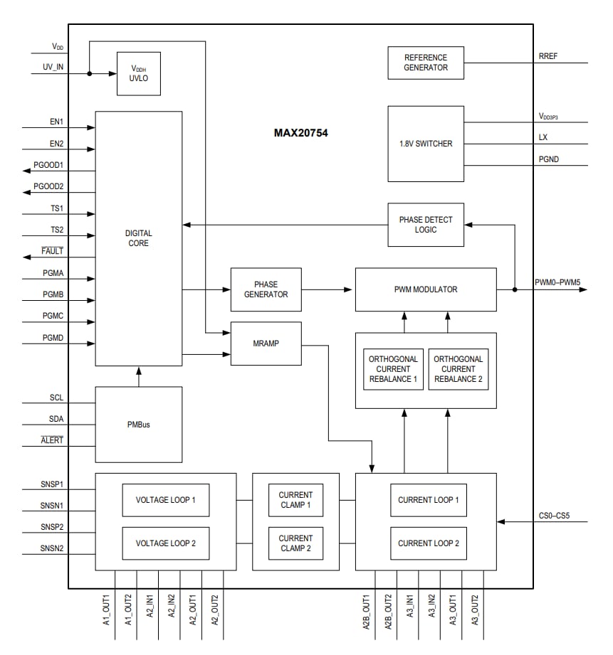
Le contrôleur d'alimentation électrique multiphasé configurable MAX20754 d'Analog Devices est optimisé pour une utilisation avec les étages de puissance intégrés Dual Powertrain™ et est conçu pour les applications de communication et de mise en réseau. Le MAX20754 génère six sorties en modulation de largeur d'impulsion ou de “ phases ” avec un nombre configurable par canal de sortie. Cette configuration prend en charge les exigences de courant élevé et une ou deux tensions de sortie.Le contrôleur d'alimentation électrique multiphasé MAX20754 d'Analog Devices est extrêmement polyvalent avec un régulateur de commutation intégré qui fournit une alimentation aux composants du contrôleur et de l'étage de puissance. Le MAX20754 offre un rapport précis du courant de charge, une surveillance de la température de l'étage de puissance, une détection des défaillances et une prise en charge étendue de la commande PMBus. Les utilisateurs peuvent enregistrer les paramètres PMBus sur une mémoire non volatile via le MAX20754.
Le contrôleur est flexible, permettant une utilisation avec des inducteurs discrets traditionnels ou avec des topologies d'inducteur couplé. Les inducteurs couplés réduisent la valeur et la taille de l'inductance efficace sans augmenter le courant d'ondulation, réduisant ainsi la capacité de sortie requise et améliorant la réponse transitoire.
Le MAX20754 utilise un système de modulation avancé (AMS), fournissant une excellente réponse transitoire et une capacité de sortie requise réduite par rapport au contrôle MLI (modulation de largeur d'impulsion) conventionnel. Les AMS peuvent être désactivés si un fonctionnement PWM (modulation de largeur d'impulsion) à fréquence fixe stricte est nécessaire.
Caractéristiques
- Contrôleur polyvalent et flexible
- Génère jusqu'à six signaux PWM
- Sortie à tension unique ou double avec affectation de phase flexible
- Plage de tension de sortie de 0,5 V à 2,0 V (MAX20754ETMA1+)
- Plage de tension de sortie de 0,25 V à 2,0 V (MAX20754ETMA2+)
- Plage de tension d'entrée 4,5 V à 16 V
- Plage de fréquence de commutation 300 kHz à 800 kHz
- Densité de puissance élevée dans une petite taille de solution globale
- Prend en charge la technologie à inductance couplé
- Le système de modulation avancé améliore la réponse transitoire
- La bande passante à haute boucle réduit les exigences de capacité de sortie
- Boîtier TQFN 48 broches (7 mm x 7 mm)
- Pilotage de courant de phase pour l'équilibrage thermique
- Régulateur de commutation interne intégré efficace alimente le contrôleur et les étages de puissance
- Configuration système simple
- Quatre résistances externes définissent la tension de sortie, l'adresse du bus, la fréquence de commutation et la limite de courant
- Configuration PMbus complète, contrôle et télémétrie
- Compatible avec la norme PMBus, révision 1.3
- Vitesse bus de 10 kHz à 1 MHz
- Paramètres de commande PMBus stockés dans une mémoire non volatile
- Rapport précis du courant, de la tension et de la température
Applications
- Équipements de communication, de mise en réseau, de serveurs et de stockage
- ASIC, DSP et FPGA
- Chipsets pour microprocesseurs
- Mémoire DDR
Vidéos
Circuit d'application de base
Schéma fonctionnel
