Analog Devices Inc. Capteur de température multicanal MAX31732
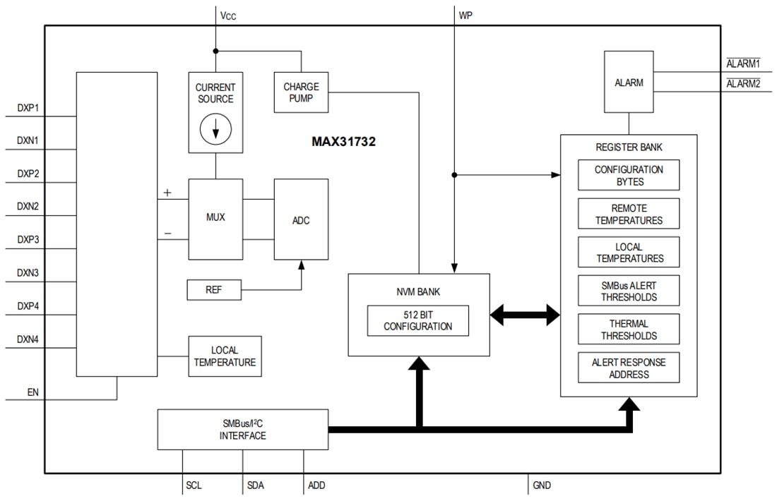
Le capteur de température multicanal MAX31732 d’Analog Devices surveille jusqu’à quatre transistors externes connectés à une diode et sa propre température. Une caractéristique d’annulation de résistance compense jusqu’à 300 Ω de la résistance série entre la diode thermique externe et le MAX31732. Dans le même temps, la compensation bêta corrige les erreurs de mesure de la température dues aux transistors de détection à faible bêta. Le capteur permet également des facteurs d’idéalité compris entre 0,9844 et 1,311.Le MAX31732 offre des sorties d’alarme actives basses et deux sorties à drain ouvert, ALARM1 et ALARM2. Lorsque la température mesurée d’un canal dépasse les niveaux de seuil de surchauffe/sous-température primaires, l'ALARM1 s’active basse et un bit d’état est défini dans les registres d’état thermique correspondants. Lorsque la température mesurée d’un canal dépasse les niveaux secondaires de seuil de surchauffe/sous-température, l'ALARM2 s’active basse et un bit d’état est défini dans les registres d’état thermique correspondants. Le registre de température le plus élevé permet au contrôleur d’obtenir la température du canal le plus chaud.
Une mémoire non volatile (NVM) de 512 bits permet au MAX31732 de programmer les registres de configuration pendant la mise sous tension sans intervention de logiciel/micrologiciel. La NVM capture également la température des défauts pour chaque canal local et distant pour une analyse ultérieure.
L’interface série à 2 fils accepte les protocoles SMBus (octet d’écriture, octet de lecture, octet d’émission et octet de réception) pour la lecture des données de température et la programmation des seuils de température. L’entrée de sélection d’adresse (ADD) peut être connectée à la terre ou à une résistance mise à la terre et utilisée pour sélectionner l’une des huit adresses cibles disponibles.
Elle est spécifiée pour la plage de température de fonctionnement de -40 °C à +125 °C et avec une plage d’alimentation d’entrée de 3,0 V à 3,6 V. Le MAX31732 d’Analog Devices est disponible en boîtier TQFN à 24 broches de 4 mm x 4 mm.
Caractéristiques
- Un canal local et quatre canaux de détection de température à distance
- Précision de mesure de température à distance de ±1 °C (de -40 °C à +125 °C)
- Plage de mesure de température à distance de -64 °C à +150 °C
- Annulation de résistance jusqu’à 300 Ω pour les canaux distants
- Compensation pour les transistors à faible bêta
- Deux seuils de température d’alarme programmables
- Résolution de 12 bits, 0,0625 °C
- Huit adresses cibles sélectionnables
- Interfaces I2C/SMBus flexibles vers une variété de microcontrôleurs
- Facteur d’idéalité jusqu’à 1,311
- La NVM facilite la configuration et l’enregistrement des défauts
Applications
- Mesure de température des diodes CPU, ASIC, SOC ou FPGA sur puce ou des diodes discrètes à distance
- Gestion industrielle-thermique
Schéma de principe
