Analog Devices Inc. Décodeur vidéo SDTV/HDTV et numériseur graphique RVB à 10 bits ADV7181D Analog Devices
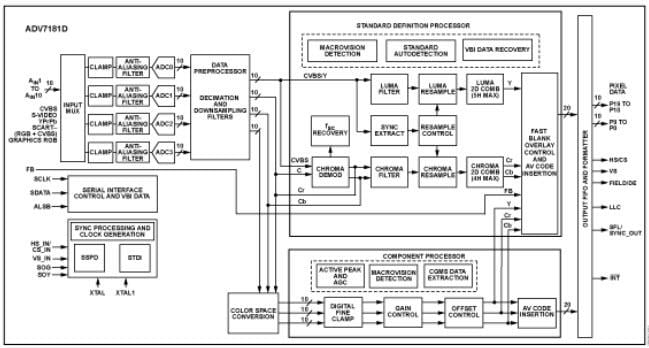
Le décodeur vidéo SDTV/HDTV à 10 bits ADV7181D Analog Devices est conçu comme un numériseur graphique et un décodeur vidéo multiformat, sur puce unique, de haute qualité. Le ADV7181D présente deux parties de traitement principales. La première partie est le processeur de définition standard (SDP) qui prend en charge la conversion des standards PAL, NTSC et SECAM sous la forme de vidéo composite ou S-Video en un format numérique UIT-R BT.656. Le deuxième partie est le processeur de composantes (CP) qui prend en charge le décodage d'un signal vidéo à composantes RVB/YPrPb en un flux de sortie numérique en pixels YCrCb ou RVB. La vidéo à composantes prise en charge comprend des normes telles que 525i, 625i, 525p, 625p, 720p, 1080i et de nombreuses autres normes HD et SMPTE. De plus, ADV7181D peut aussi de numériser des signaux graphiques RVB à partir de VGA vers XGA et de les convertir en un flux en sortie de pixels numériques DDR RVB ou YCrCb. La fonctionnalité SCART et celle de superposition sont rendues possibles par la capacité du ADV7181D à traiter simultanément les signaux CVBS et RVB de définition classique. Le mélange de ces signaux est contrôlé par la broche FB (effacement rapide).The second section is the component processor (CP), which supports the decoding of a component RGB/YPrPb video signal into a digital YCrCb or RGB pixel output stream. Support for component video includes standards such as 525i, 625i, 525p, 625p, 720p, 1080i, and many other HD and SMPTE standards. In addition, ADV7181D is also capable of digitizing RGB graphics signals from VGA to XGA rates and converting them into a digital DDR RGB or YCrCb pixel output stream. SCART and overlay functionality are enabled by the ability of the ADV7181D to simultaneously process CVBS and standard definition RGB signals. The mixing of these signals is controlled by the fast blank (FB) pin.
Caractéristiques
- Qualified for automotive applications
- Four 10-bit ADCs sampling up to 75MHz
- 10 analog input channels
- SCART fast blank support
- Internal antialias filters
- NTSC, PAL, and SECAM color standards support
- 525p/625p component progressive scan support
- 720p/1080i component HDTV support
- Digitizes RGB graphics up to 1024 × 768 at 70Hz (XGA)
- 3 × 3 color space conversion matrix
- −40°C to +85°C Industrial temperature range
Applications
- Automotive entertainment
- HDTVs
- LCD/DLP® projectors
- HDTV STBs with PVR
- DVD recorders with progressive scan input support
- AVR receivers
Block Diagram
Publié le: 2014-11-18
| Mis à jour le: 2022-03-11
