Analog Devices Inc. Processeur de signal d’Image de profondeur ToF ADSD3500
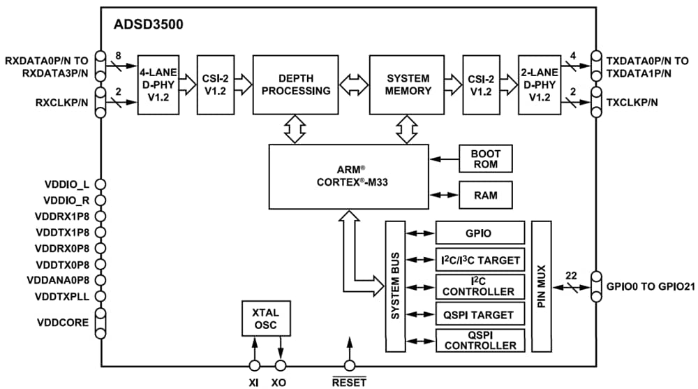
Le processeur de signal d’Image de profondeur ToF ADSD3500 d'Analog Devices traite les trames de phase brute de l’imageur ToF pour produire une profondeur radiale, une luminosité active (AB) et des trames de confiance. L’ADSD3500 d'Analog Devices Inc. dispose d’un Arm® Cortex®-M33 intégré et gère le flux de données et de traitement. L’ADSD3500 prend en charge le calcul de la résolution 640 x 512 et le calcul de profondeur partielle pour une résolution de 1024 x 1024, optimisant ainsi la consommation d’énergie. De plus, il contrôle le démarrage du module de capteur d’image, le chargement des données d’étalonnage et le déclenchement de trame.Caractéristiques
- Processeur de profondeur pour les imageurs temps de vol
- Traitement en profondeur à une résolution de 640 x 512, jusqu’à 90 images par seconde (IPS)
- Traitement de profondeur partielle à une résolution de 1 024 x 1 024, jusqu’à 30 images/s
- Mémoire d’accès aléatoire statique (SRAM) sur puce pour la mise en mémoire tampon et la manipulation des trames
- Processeur ARM Cortex-M33 pour le contrôle du flux de données
- Interface de récepteur MIPI CSI-2 4 voies, 2,5 Gbit/s par voie
- Interface d’émetteur MIPI CSI-2 2 voies, 2,5 Gbit/s par voie
- Contrôleur et cible I2C (1 MHz), cible I3C (12,5 MHz)
- Contrôleur QSPI (50 MHz) et cible (30 MHz)
- GPIO pour connectivité externe
- Oscillateur à quartz (24 MHz) ou horloge externe (24 MHz, 19,2 MHz)
- Alimentation E/S de 1,8 V, alimentation cœur de 0,8 V
- WLCSP 3,47 mm x 3,47 mm avec matrice de billes 9 x 9
Applications
- Systèmes de réalité augmentée (RA)
- Robotique
- Automatisation des bâtiments
- Systèmes de vision artificielle
Schéma fonctionnel
Publié le: 2023-12-26
| Mis à jour le: 2024-04-11
