Analog Devices Inc. Frontal de capteur multimodal ADPD4200
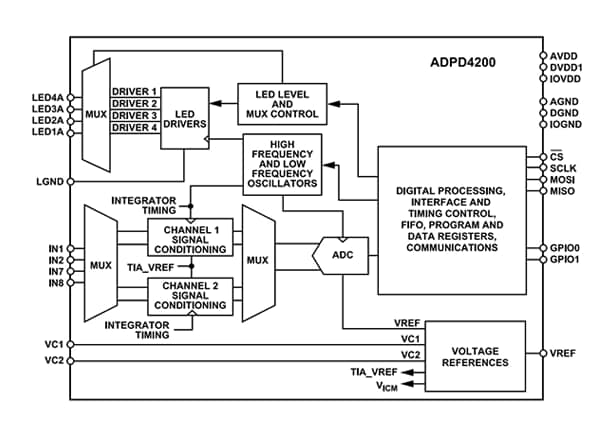
L’interface frontale du capteur ADPD4200 d'Analog Devices Inc. fonctionne comme une interface frontale de capteur photométrique complète, stimulant jusqu’à quatre diodes électroluminescentes (LED). Ce frontal de capteur mesure également le signal de retour sur jusqu'à quatre entrées de courant séparées. Le frontal de capteur ADPD4200 est équipé de douze fentes temporelles qui permettent douze mesures séparées par période d'échantillonnage. Ce capteur comprend un circuit de contrôle avec une signalisation LED flexible et une détection synchrone. Le frontal de capteur ADPD4200 utilise un cœur analogique de 1,8 V et une entrée/sortie (E/S) numérique compatible de 1,8 V ou 3,3 V. Ce capteur dispose d'un traitement à double canal avec un échantillonnage simultané, un filtrage numérique sur puce, un courant de crête de LED total de 400 mA et une taille FIFO de 512 octets. Le frontal de capteur ADPD4200 comprend de nombreuses applications dans les moniteurs de santé et de remise en forme portables, la surveillance industrielle et les dispositifs de surveillance des patients à domicile.Caractéristiques
- Frontal analogique multimodal
- 4 canaux d'entrée ont plusieurs modes de fonctionnement :
- PPG, ECG
- EDA
- Impédance
- Température
- Traitement à double canal avec échantillonnage simultané
- 12 créneaux horaires programmables pour les mesures de capteurs synchronisées
- Multiplexage d'entrée flexible pour prendre en charge les mesures de capteurs différentiels et asymétriques
- Communications SPI prises en charge
- Taille FIFO 512 octets
- 4 pilotes LED, qui peuvent être pilotés simultanément
- Fréquence d'échantillonnage flexible de 0,004 Hz à 9 kHz à l'aide d'oscillateurs internes
- Filtrage numérique sur puce
- Rapport signal sur bruit de 105 dB (gain TIA de 100 kΩ, ODR de 100 Hz, 80 impulsions, CPD = 70 pF et bande passante de 0,5 Hz à 10 Hz)
- 60 dB jusqu'à 1 kHz de rejet de lumière ambiante CA
- Courant de crête de LED total 400 mA
- Dissipation de puissance totale du système de 30 μW
- Mesure PPG continue à SNR de 75 dB, ODR de 25 Hz et CTR de 100 nA/mA
Applications
- Dispositifs de santé et de fitness connectés :
- Moniteurs de fréquence cardiaque (HRM)
- Variabilité de la fréquence cardiaque (HRV)
- Estimation du stress et de la pression artérielle
- SpO2
- Hydratation
- Composition corporelle
- Surveillance industrielle :
- CO
- CO2
- Fumée
- Détection d'aérosols
- Suivi des patients à domicile
Schéma fonctionnel
Publié le: 2022-07-18
| Mis à jour le: 2022-10-10
