Analog Devices Inc. Carte d'évaluation ADL8112-EVALZ
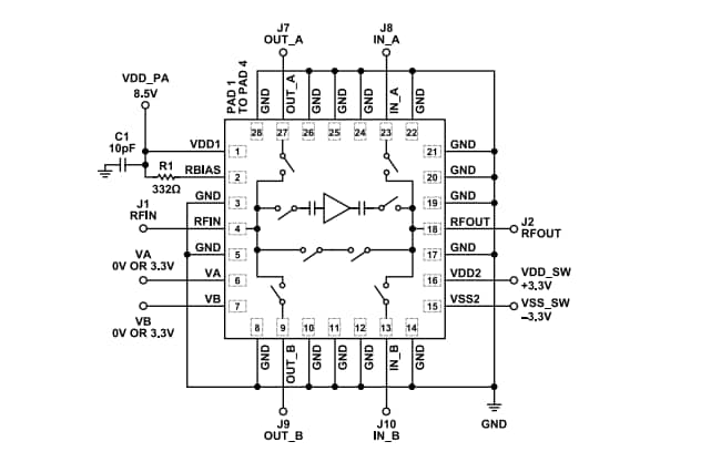
La carte d'évaluation ADL8112-EVALZ d'Analog Devices offre des composants idéaux pour une utilisation sur toute la plage de température de fonctionnement de -40 °C à +85 °C de l'ADL8112. Les amplificateurs ADL8112 de 10 MHz à 26,5 GHz sont des amplificateurs à faible bruit (LNA) avec des commutateurs de dérivation. Le circuit imprimé (PCB) à 4 couches est construit à partir de Rogers 4350B de 0,2 mm d'épaisseur et d'Isola 370HR, recouvert de cuivre, formant une épaisseur nominale de 1,6 mm. De plus, les ports RFIN et RFOUT de l'ADL8112-EVALZ sont équipés de connecteurs coaxiaux femelles de 2,92 mm et les traces RF associées ont une impédance caractéristique de 50 Ω.Accédez aux broches d’alimentation et de contrôle numérique ADL8112-EVALZ d’ADI via les connecteurs de point de test de technologie à montage en surface (CMS), VDD_PA, GND, VDD_SW, VSS_SW, VA et VB.
Les traces RF de l'ADL8112-EVALZ sont des guides d'ondes coplanaires de 50 Ω, mis à la terre. Les cables de masse du boîtier et la pastille exposée se connectent directement au plan de masse. Plusieurs vias relient les plans de masse supérieur et inférieur, en se concentrant sur la zone située directement sous la pastille de masse afin d'assurer une conduction électrique et thermique suffisante vers l'ADL8112-EVALZ.
Caractéristiques
- Carte d'évaluation 4 couches, Rogers 4350B et Isola 370HR
- Lancement final, connecteurs RF de 2,92 mm
- Chemin d'étalonnage traversant (dépeuplé)
Équipement nécessaire
- Générateur de signal RF
- Analyseur de spectre RF
- Analyseur de réseau RF
- Alimentation 8,5 V, 300 mA
- Alimentations +3,3 V et -3,3 V, 100 mA
Schéma
Configuration du circuit imprimé
Schéma d'assemblage (J5, J6, J11 et J12 non installés)
Publié le: 2023-06-08
| Mis à jour le: 2025-03-14
