Analog Devices Inc. Amplificateurs à faible bruit ADL8108
Les amplificateurs à faible bruit ADL8108 d'Analog Devices Inc. sont des amplificateurs à faible bruit polyvalents conçus pour fonctionner sur une gamme de fréquences de 1 GHz à 8 GHz. Ces amplificateurs intègrent un capteur de température et une broche de contrôle de mise hors tension, rendant le dispositif idéal pour les applications économes en énergie. Les amplificateurs ADL8108 offrent une adaptation robuste de l'entrée et de la sortie avec une impédance de 50Ω. Ces amplificateurs sont logés dans un boîtier LFCSP compact 16 fils conçu pour associer une efficacité thermique et des performances fiables dans les environnements haute fréquence. Les amplificateurs ADL8108 sont utilisés dans les télécommunications, les instruments de test et l'industrie militaire.Caractéristiques
- Alimentation positive unique de 5 V et IDQ nominale de 90 mA
- Broche de réglage du courant de drain RBIAS
- Capteur de température intégré
- Fonction intégrée d'activation et de désactivation
- Gain de 20 dB standard de 3 GHz à 4,5 GHz
- OIP3 de 35,5 dBm standard de 1 GHz à 4,5 GHz
- Facteur de bruit de 1 dB standard de 3 GHz à 6 GHz
- Plage de température de fonctionnement étendue de -55 °C à 125 °C
- Boîtier LFCSP 16 fils de 3 mm x 3 mm conforme RoHS
Applications
- Télécommunications
- Instrumentation de test
- Militaire
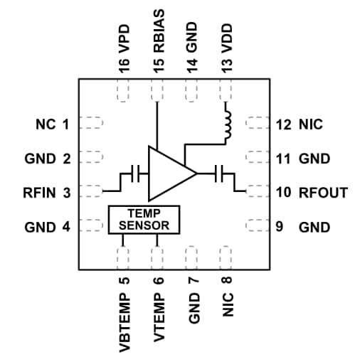
Schéma fonctionnel
Publié le: 2025-01-27
| Mis à jour le: 2025-02-25
