Analog Devices Inc. PHY Ethernet ADIN1300 10/100/1000 Gigabit
Le PHY Gigabit Ethernet 10/100/1000 ADIN1300 d’Analog Devices est un émetteur-récepteur Gigabit Ethernet à port unique et faible puissance avec des caractéristiques de latence à la pointe de l’industrie, principalement conçu pour les applications Ethernet industrielles. Cette conception intègre un cœur PHY Ethernet économe en énergie, la circuiterie analogique commune associée, la mémoire tampon d’horloge d’entrée et de sortie, l’interface de gestion et les registres de sous-système. L’ADIN1300 10/100/1000 d’Analog Devices comprend également l’interface MAC et la logique de contrôle pour gérer la réinitialisation et le contrôle d’horloge, ainsi que la configuration des broches.Caractéristiques
- Interfaces MAC MII, RMII et RGMII conformes 802.3TM IEEE ® 10BASE-Te/100BASE-TX/1000BASE-T
- Latence TX < 68 ns, RX < 226 ns pour RGMII 1000BASE-T
- Latence TX < 52 ns, RX < 248 ns pour MII 100BASE-TX
- Normes de test CEM
- Surtension CEI 61000-4-5 (±4 kV)
- Transitoires électriques rapides (EFT) CEI 61000-4-4 (±4 kV)
- DES CEI 61000-4-2 (décharge de contact de ±6 kV)
- Immunité conduite CEI 61000-4-6 (10 V)
- Émissions rayonnées EN55032 (classe A)
- Émissions conduites EN55032 (classe A)
- Configuration non gérée à l’aide de feuillards de broches à niveaux multiples
- Ethernet économe en énergie (EEE) conformément à la norme IEEE 802.3az
- Détection de début de trame pour prise en charge de l’horodatage IEEE 1588
- Détection de liaison améliorée
- LED configurable
- Oscillateur à quartz/entrée d’horloge de 25 MHz (50 MHz pour RMII)
- Sortie horloge synchrone de 25 MHz/125 MHz
- Petit boîtier et large plage de température
- LFCSP à 40 fils (6 mm x 6 mm)
- Spécifié pour un fonctionnement ambiant de -40 °C à +105 °C
- Faible consommation d’énergie
- 330 mW - 1000BASE-T
- 140 mW - 100BASE-TX
- Alimentation VDDIO d’interface MAC 3,3 V/2,5 V/1,8 V
- Surveillance et POR d’alimentation électrique intégrés
Applications
- Automatisation industrielle
- Contrôle des processus
- Automatisation d’usine
- Robotique/contrôle de mouvement
- Automatisation des bâtiments
- Test et mesure
- IoT industriel
Vidéos
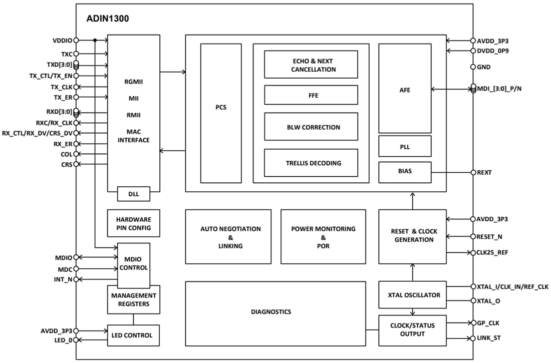
Schéma fonctionnel
Ressources supplémentaires
Cinq façons dont les normes IEEE feront progresser l’Industrie 4.0
La mise en réseau sensible au temps (TSN), un ensemble de normes Ethernet IEEE, est fondamentale pour satisfaire les nombreux résultats puissants de l’Industrie 4.0. Avec le TSN, toutes les données à travers l’usine, de l’atelier aux serveurs, en passant par le service administratif et partout entre les deux, peuvent coexister et communiquer. Découvrez les 5 choses qui rendent le TSN essentiel.
En savoir plus
Solutions de couche physique Ethernet robustes pour les communications sensibles au temps dans les environnements industriels difficiles
Afin de permettre une connectivité transparente des réseaux IT et OT et de débloquer le potentiel de l’Industrie 4.0, la technologie de couche physique améliorée conçue pour les applications industrielles est un choix de conception clé. La technologie PHY Ethernet industriel robuste qui résout les défis de puissance, de latence, de taille de solution, de température ambiante de 105 °C, de robustesse (CEM/DES) et de longue durée de vie du produit est la base de l’usine connectée.
En savoir plus
Accélérer votre transition vers Industrie 4.0
Au cœur de la vision de l’Industrie 4.0, on retrouve la capacité d’automatiser les processus à l’aide d’appareils connectés avec la capacité de collecter, d’envoyer et de recevoir des informations. Accélérer la transition vers l’usine intelligente de demain grâce aux solutions Ethernet industrielles d’ADI.
En savoir plus
Défis de synchronisation dans les applications de robotique multiaxiale et d’outillage machine
Dans les applications de mouvement synchrone, multiaxiales et à hautes performances, les exigences de synchronisation de contrôle sont précises, déterministes et critiques en termes de temps. Découvrez comment minimiser la latence de bout en bout alors que les temps de cycle de contrôle sont raccourcis et que la complexité des algorithmes de contrôle augmente.
En savoir plus
Fournir un Ethernet transparent sur le terrain avec la connectivité 10BASE-T1L
Le 10BASE-T1L modifiera considérablement l’industrie de l’automatisation des processus en améliorant significativement l’efficacité opérationnelle de l’usine grâce à une connectivité Ethernet transparente aux dispositifs de terrain (capteurs et actionneurs).
En savoir plus
Ethernet APL : Optimiser l’automatisation des processus avec des informations exploitables
L’APL Ethernet changera le monde de l’automatisation des processus en permettant une connectivité Ethernet transparente à large bande passante aux dispositifs de terrain. Cela résout les défis qui, à ce jour, ont limité l'utilisation de l'Ethernet sur le terrain.
En savoir plus
