Analog Devices Inc. MAC-PHY Ethernet 10BASE-T1L basse consommation ADIN1110
L'ADIN1110 10BASE-T1L Ethernet MAC-PHY Analog Devices Inc. basse consommation intègre un noyau Ethernet PHY avec un MAC et tous les circuits analogiques associés, la mémoire tampon d'horloge d'entrée et de sortie. L'ADIN1110 dispose d'un rail d'alimentation unique de 1,8 V ou 3,3 V et est conçu pour les applications Ethernet industrielles.Le MAC-PHY Ethernet 10BASE-T1L à faible puissance ADIN1110 d'Analog Devices fournit des niveaux de transmission programmables, des résistances de terminaison externes et des broches Rx/Tx indépendantes, permettant l'utilisation du composant pour les applications de sécurité intrinsèque. L'ADIN1110 dispose d'une surveillance de la tension d'alimentation intégrée et d'un circuit de réinitialisation à l'allumage pour améliorer la robustesse au niveau du système.
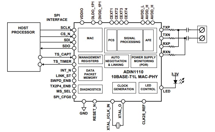
L'Ethernet MAC-PHY offre une interface SPI à 4 fils pour la communication entre le MAC et le processeur hôte. L'ADIN1110 est logé dans un boîtier à 40 fils de 6 mm x 6 mm.
Caractéristiques
- Capacité d'auto-négociation
- Prend en charge les applications de sécurité intrinsèque
- Résistances de terminaison externes
- Broches Rx/Tx séparées
- MAC intégré avec interface SPI
- Interface SPI prenant en charge 10 Mo/s full duplex
- Prend en charge Open Alliance 10BASE-T1x MAC-PHY série
- Interface
- Carte mémoire MDIO accessible via SPI
- FIFO sur puce : réception 20 kB, transmission 8 kB
- Fonctionnement à découpage et en différé
- Files d'attente Rx à priorité élevée et faible
- Prise en charge d'horodatage IEEE 1588
- Compteurs statistiques
- 16 adresses MAC prises en charge pour le filtrage des trames
- Conforme à la norme IEEE® 802.3cg-2019TM 10BASE-T1L
- Prend en charge les niveaux de transmission 1,0 V pk-pk et 2,4 V pk-pk
- Configuration non gérée à l'aide de jumelage de broches, y compris :
- Sélection maître/esclave
- Amplitude de transmission
- Oscillateur à quartz 25 MHz/entrée d'horloge externe 25 MHz
- Fonctionnement à alimentation simple 1,8 V/3,3 V (selon le mode)
- Portée du câble
- + de 1 700 mètres avec 1,0 V pk-pk
- + de 1 700 mètres avec 2,4 V pk-pk
- Faible consommation électrique – alimentation bipolaire symétrique de 42 mW std
- LED Link
- Petit boîtier LFCSP 40 fils (6 mm x 6 mm)
- Large plage de température de -40 °C à +105 °C
Applications
- Contrôle des processus
- Automatisation industrielle
- Immotique
Ressources supplémentaires
Schéma de principe fonctionnel
Article
Comment un MAC-PHY 10BASE-T1L simplifie la connectivité Ethernet des processeurs à faible puissance
Une couche physique Ethernet de 10 Mo (10BASE-T1L) combinée à une alimentation électrique (power/PoDL/SPoE) sur deux fils, jusqu'à 1 km, permettra de nouveaux types d'appareils connectés à Ethernet qui génèrent des informations de plus grande valeur et qui sont désormais plus accessibles via un réseau Ethernet TI/OT converti.
Conception d'un capteur de vibration de surveillance d'état Ethernet à paire unique 10BASE-T1L
Cet article explique comment concevoir une minuscule interface d'alimentation et de données partagée (PoDL) pour un capteur CbM, notamment la conception d'alimentation, la conception mécanique, la sélection de capteur MEMS et le logiciel pour une solution de capteur complète.
