Analog Devices Inc. Boucles à verrouillage de phase (PLL) sous-fractionnée ADF4383
Les Boucles BVP à facteur de division fractionnaire N ADF4383 Analog Devices sont des boucles à verrouillage de phase fractionnaire N ultra-faible vacillement (BVP) à hautes performances et à oscillateur intégré à régulation en tension (VCO). Ils sont parfaitement adaptés à la génération d'oscillateurs locaux (LO) pour les applications 5G ou les applications d'horloge de convertisseur de données. Le BVP haute performance a un facteur de mérite de -239 dBc/Hz, un faible bruit 1/f et une fréquence PFD élevée de 625 MHz en mode entier qui peut atteindre un vacillement intégré et un bruit intrabande ultra-faibles. L'ADF4383 peut générer des fréquences dans une plage d'octave fondamentale de 10 GHz à 20 GHz, éliminant ainsi le besoin de filtres sous-harmoniques. Les diviseurs de sortie de l'ADF4383 permettent de générer une plage fréquentielle complète de sortie de 625 MHz à 20 GHz.L'ADF4383 aligne automatiquement sa sortie sur le périphérique d'entrée de référence pour de multiples applications d'horloges de convertisseurs de données en incluant le diviseur de sortie dans la boucle de rétroaction de BVP. Une référence programmable au retard de sortie à résolution inférieure à 1 ps est fournie pour des applications nécessitant un retard déterministe ou une capacité de réglage des retards. La référence au retard de sortie correspondante sur plusieurs dispositifs et sur la température permet un alignement multipuce prévisible et précis.
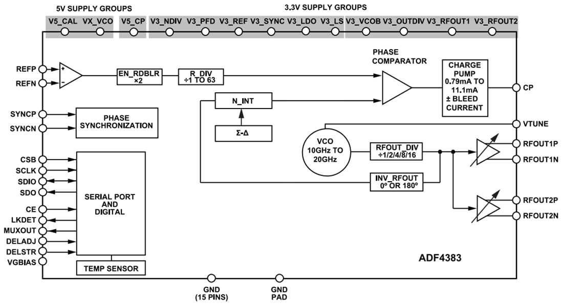
La simplicité du schéma fonctionnel de l'ADF4383 d'Analog Devices abrège le temps de développement. Il dispose d'une carte simplifiée de registres d'interfaces périphériques en série (SPI), d'une entrée SYNC externe et d'un alignement multipuce répétable, en mode entier et fractionnaire.
Caractéristiques
- Gamme de fréquences du VCO fondamental de 10 à 20 GHz
- Amélioration du bruit de phase du VCO jusqu'à 3 dB par rapport à l'ADF4382
- Vacillement efficace intégré à 20 GHz = 18 fs (largeur de bande d'intégration de 100 Hz à 100 MHz)
- Vacillement efficace intégré à 20 GHz = 31 fs (méthode RSB CAN)
- Caractéristiques techniques de BVP
- Niveau normalisé du bruit de phase en bande passante de -239 dBc/Hz (mode entier)
- Plancher de bruit de phase normalisé 1/f de -287 dBc/Hz
- Fréquence d'entrée du détecteur de phase/fréquence maximale de 625 MHz
- Fréquence d'entrée de référence de 4,5 GHz
- fPFD parasite standard de -90 dBc
- Temps de calibration du VCO rapide <>
- Temps d'auto-calibration du VCO <>
- Niveau de bruit de phase de -156 dBc/Hz à 20 GHz
- Référence aux caractéristiques techniques du retard de sortie
- Coefficient de température de retard de propagation de 0,06 ps/°C
- Étape de réglage de la taille de l'incrément <>
- Alignement de phase de sortie multipuce
- Alimentations électriques 3,3 V et 5 V
- Prise en charge de l'outil de conception de filtres à boucle ADIsimPLL™
- LGA à 48 broches, de 7 mm × 7 mm
- Température de fonctionnement : de -40 °C à +105 °C
Applications
- Horloge du convertisseur de données haute performance
- Infrastructures sans fil (MC-GSM, 5G, 6G)
- Test et mesure
Ressources supplémentaires
Schéma fonctionnel
