Analog Devices Inc. Boucles PLL à fraction N ADF4382x
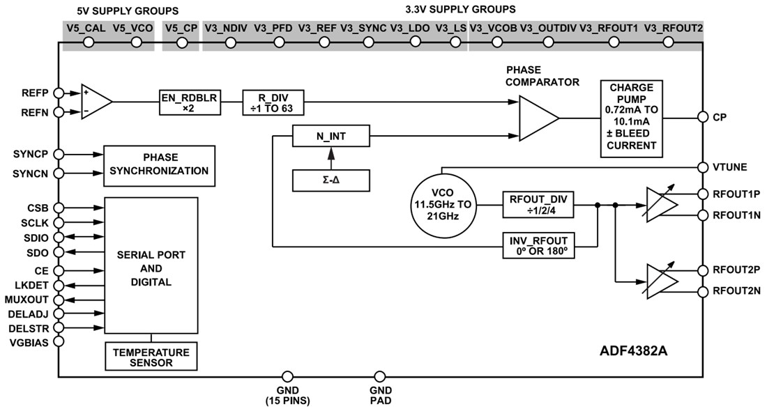
La boucle à verrouillage de phase (PLL) à fraction N ADF4382x d'Analog Devices est une boucle à verrouillage de phase (PLL) fractionnelle-N à haute performance et à gigue ultra-faible. Elle intègre un oscillateur commandé en tension (VCO) qui convient parfaitement à la génération d'un oscillateur local (LO) pour les applications 5G ou d'horloge de convertisseur de données. La PLL haute performance a une figure de mérite de -239 dBc/Hz, un faible bruit 1/f, et une fréquence PFD élevée de 625 MHz en mode entier qui permet d'obtenir un bruit dans la bande et une gigue intégrée ultra-faibles. L'ADF4382x peut générer des fréquences dans une plage d'octave fondamentale de 11,5 GHz à 21 GHz, éliminant ainsi le besoin de filtres subharmoniques. Les diviseurs de sortie par deux et quatre de l'ADF4382x permettent de générer des fréquences de 5,75 GHz à 10,5 GHz et de 2,875 GHz à 5,25 GHz, respectivement.L'ADF4382A d'Analog Devices aligne automatiquement sa sortie sur le front de référence de l'entrée pour les applications d'horloge de convertisseurs de données multiples en incluant le diviseur de sortie dans la boucle de rétroaction de la PLL. Une référence programmable au retard de sortie avec < 1ps de résolution est fournie pour les applications nécessitant un retard déterministe ou une capacité d'ajustement du retard. L'adaptation du retard de référence à la sortie sur plusieurs dispositifs et sur la température permet un alignement prévisible et précis de l'horloge multi-puce et de la référence du système (SYSREF). La simplicité du schéma fonctionnel de ADF4382A facilite le temps de développement grâce à une carte de registre d'interface périphérique série (SPI) simplifiée, à un alignement répétable de l'horloge multipuce et à la limitation des pics d'horloge indésirables grâce à la génération de SYSREF hors puce.
Caractéristiques
- 11,5 GHz jusqu'à 21 GHz gamme de fréquence de sortie fondamentale
- 5,75 GHz jusqu'à 10,5 GHz diviser par deux gamme de fréquence de sortie
- 2,875 GHz jusqu'à 5,25 GHz diviser par quatre gamme de fréquence de sortie
- Gigue efficace intégrée à 20 GHz = 20fs (largeur de bande d'intégration : 100 Hz à 100 MHz)
- Gigue RMS intégrée à 20 GHz = 31fs (méthode ADC SNR)
- Temps d'autocalibrage du VCO < 100μs
- Bruit de fond de phase de -156 dBc/Hz à 20 GHz
- Spécifications PLL
- -239 dBc/Hz : bruit de fond de phase normalisé dans la bande
- -287 dBc/Hz : bruit de fond de phase en 1/f normalisé
- 625 MHz détecteur de phase/fréquence maximale fréquence d'entrée
- 4,5 GHz fréquence d'entrée de référence
- Bruit parasite typique fPFD de -90 dBc
- Référence aux spécifications du délai de sortie
- 0.06 ps/°C coefficient de température du temps de propagation
- Taille du pas de Réglage de < 1ps
- Alignement de phase de sortie multipuce
- 3,3 V et 5 V blocs d'alimentation
- Prise en charge de l'outil de conception de filtres à boucle ADIsimPLL™
- 7 mm × 7 mm, 48 terminaux LGA
- température de fonctionnement -40 °C à +105 °C
Applications
- Horloge de convertisseur de données haute performance
- Infrastructure Sans fil (MC-GSM, 5 G, 6 G)
- Test et mesure
Schéma fonctionnel
