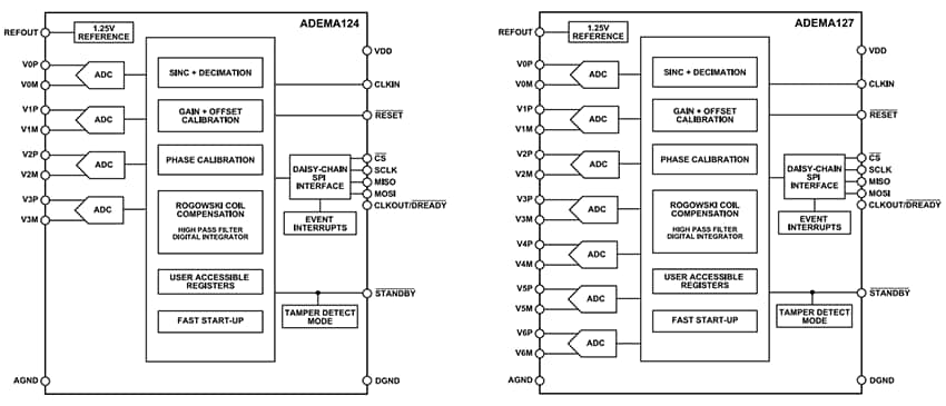
Analog Devices Inc. ADEMA124/ADEMA127 CAN à 24 bits Sigma-Delta
Les convertisseurs sigma-delta 24 bits ADEMA124/ADEMA127 d’Analog Devices Inc. sont respectivement des ADC à 4 canaux et 7 canaux, échantillonnant simultanément, conçus pour les applications de comptage d’énergie polyphasées et en demi-phase. Ces dispositifs sont compatible avec les diviseurs de tension, shunts et détecteurs de courant isolés tels que les transformateurs de courant et les bobines de Rogowski. Chaque canal CAN intègre des filtres matériels et DSP indépendants qui permettent la compensation du gain, de la phase et du décalage. De plus, les convertisseurs intègrent des fonctions DSP spécialisées, comprenant un intégrateur et un passe-filtre passe-haut du second ordre, ce qui simplifient la mise en oeuvre des capteurs Rogowski. Des coefficients de filtre DSP préchargés pour les cas d’utilisation courants sont fournis et peuvent être personnalisés pour répondre à des exigences spécifiques.Les ADEMA124 et ADEMA127 d'ADI intègrent une compensation sinc, un filtrage passe-bas et une fonction DSP de decimation par 2 étendant la bande passante analogique exploitable jusqu'à 70 % pour un débit d'échantillonnage donné. Cette large bande passante rend ces composants adaptés aux compteurs d'énergie conformes à la norme IEC 61000-4-30, Classes A et S. Ces CAN prennent également en charge la conformité aux normes d’énergie active telles que IEC 62053-21, IEC 62053-22, OIML R46 et ANSI C12.1, ainsi qu’aux normes d’énergie réactive, notamment IEC 62053-23, IEC 62053-24 et EN 50470-3. Avec un temps de démarrage rapide de seulement 0,5 ms (standard), les CAN ADEMA124 et ADEMA127 sont adaptés aux disjoncteurs et relais de protection, en particulier lorsqu’ils sont utilisés avec des capteurs Rogowski.
Pour la configuration et l'extraction des données, les CAN offrent une interface SPI flexible avec fonction de chaînage (daisy-chain), permettant de piloter plusieurs CAN via un seul port SPI et de réduire le nombre de broches sur le microcontrôleur hôte. Les composants sont également compatibles en mode daisy-chain avec les CAN isolés ADE9112/ADE9113. Pour garantir l’intégrité des données, des contrôles de redondance cycliques indépendants (CRC) sont mis en œuvre pour détecter les erreurs dans la communication SPI et empêcher les modifications non désirées des registres de configuration.
Caractéristiques
- CAN Σ-Δ haute performance à échantillonnage simultané à 4 canaux (ADEMA124) ou 7 canaux (ADEMA127)
- SNR jusqu’à 105 dB
- Fréquence d'échantillonnage programmable jusqu'à 64 kSPS
- Large plage de tension d’entrée de ±1,2 VPK, pleine échelle 848 mVRMS
- Entrées différentielles à haute impédance
- Coefficient de température standard de tension interne de 5 ppm/°C
- Intégrateur numérique intégré et filtre passe-haut pour une utilisation avec des bobines de Rogowski
- Mise en route rapide avec les premiers échantillons en 0,5 ms après une alimentation valide
- Mode de détection d'effraction, faible puissance pour la batterie de secours
- Interface SPI 4 fils avec CRC bidirectionnel et fonctionnalité de chaînage daisy-chain
- Synchronisation simple de plusieurs dispositifs CAN
- Compensation du gain, de la phase et du décalage pour chaque canal
- Registres d'identification de pièce lisibles SPI uniques
- Consommation d'énergie de seulement 18 mW avec CAN 7 canaux
- Plage de température large de -40 °C à +125 °C
- Boîtier LFCSP compact 32 broches 5 mm x 5 mm
- Niveau de sensibilité à l'humidité (MSL) 3
Applications
- Compteurs d'énergie polyphasés
- Compteurs d'énergie monophasés divisés
- Surveillance des circuits dérivés
- Unités de distribution d'énergie
- Surveillance de la qualité de puissance
- Disjoncteurs
- Relais de protection
- Équipement d’alimentation de véhicules électriques
Ressources
- Guide d’étalonnage ADEMA124/ADEMA127
- Note d’application AN-2625 - Conception avec plusieurs CAN ADE
Schéma de principe fonctionnel
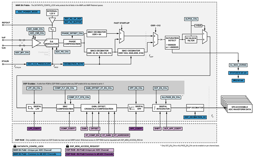
Datapath
