Analog Devices Inc. CI de surveillance de la qualité de l'alimentation ADE9430
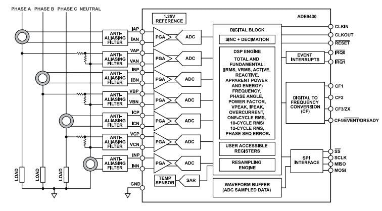
Le CI de surveillance de la qualité de l’alimentation ADE9430 d'Analog Devices est un dispositif de surveillance de l’énergie et de la qualité de l’alimentation polyphasée entièrement intégré et hautement précis. Le modèle ADE9430 dispose de performances analogiques supérieures et d’un cœur de traitement du signal numérique (DSP) qui permet une surveillance précise de l’énergie sur une large plage dynamique. Une référence haut de gamme intégrée assure une faible dérive en température avec une dérive combinée inférieure à ± 25 ppm/°C maximum pour l’ensemble du canal. Cela comprend un amplificateur à gain programmable (PGA) et un convertisseur analogique-numérique (CAN).L'ADE9430 simplifie la mise en œuvre et la certification des systèmes de surveillance de la qualité de l'énergie et de l'alimentation en fournissant une intégration étroite des moteurs d'acquisition et de calcul. Les CAN et le moteur DSP intégrés calculent divers paramètres et fournissent des données via des registres accessibles à l'utilisateur ou indiquent les événements via des broches d'interruption. Avec sept canaux CAN dédiés, l'ADE9430 peut être utilisé sur un système triphasé ou jusqu'à trois systèmes monophasés. Ce composant prend en charge les transformateurs de courant (CT) ou les bobines Rogowski lorsqu'il est utilisé avec un intégrateur analogique externe pour les mesures de courant.
Le CI de surveillance de la qualité de l'alimentation ADE9430 peut être utilisé pour déterminer la quantité d'harmoniques envoyées vers une grille par des ressources basées sur des convertisseurs, notamment le photovoltaïque solaire, les solutions de stockage d'énergie (ESS) et les chargeurs de véhicules électriques bidirectionnels. En surveillant les perturbations sur le réseau, la solution permet de meilleurs diagnostics sur l'optimisation des ressources énergétiques distribuées qui peuvent être ajoutées pour atteindre un réseau énergétique plus fiable et plus propre.
Le CI de surveillance de la qualité de l'alimentation ADE9430 d'Analog Devices Inc. est logé dans un boîtier à l'échelle d'une puce à cadre conducteur à 40 fils et est conforme à la directive RoHS.
Caractéristiques
- 7 CAN Σ-Δ 24 bits hautes performances
- SNR de 101 dB à huit kS/s avec PGA = 1
- Large plage de tension d'entrée de ±1 V, 707 mVrms à pleine échelle à gain = 1
- Entrées différentielles
- Dérive de canal maximale de ±25 ppm/°C (y compris CAN, VREF interne, dérive PGA) permettant une plage d'entrée dynamique de 10 000:1, métrologie de classe 0,2 avec des composants externes standard
- Avec la bibliothèque de qualité d'alimentation ADSW-PQ-CLS en option, la norme CEI 61000-4-30 complète de qualité de puissance de classe S est mise en œuvre, y compris
- Fréquence de puissance moyenne de 10 s
- Amplitude de l'alimentation
- Creux et pics
- Interruptions
- Changement de tension rapide
- Scintillement
- Tension de signalisation secteur
- Sous et sur-déviation
- Tension et courant
- Amplitude
- Harmoniques
- Interharmoniques
- Déséquilibre
- THD
- Enregistrement de forme d'onde
- Bibliothèque de qualité d'alimentation (Power Quality Library) ADSW-PQ-CLS en option compatible avec les microcontrôleurs Arm™ Cortex
- Un cycle VRMS et un cycle IRMS actualisés pendant chaque cycle
- VRMS et IRMS filtrés et mis à jour pour chaque échantillon
- RMS 10 cycles/RMS 12 cycles
- Registres de période pour calculer la fréquence de ligne, un par phase
- Passage par zéro et expiration du passage par zéro
- Mesures d'angle de phase
- Prend en charge les CT
- Compensations de phase et de gain multipoint pour les CT
- Bobines Rogowski avec ajout d'un intégrateur analogique externe
- Données rééchantillonnées en continu disponibles
- Tampon de forme d'onde
- Ensemble de fonctionnalités de métrologie avancées
- Puissance active totale et fondamentale, réactive volt-ampère (VAR), volt-ampère (VA), watt-heure, VAR heure et VA heure
- IRMS et VRMS totales et fondamentales
- Facteur de puissance
- Prend en charge les normes d'énergie active CEI 62053-21 et CEI 62053-22, EN50470-3, OIML R46 et ANSI C12.20
- Prend en charge les normes d'énergie réactive CEI 62053-23 et CEI 62053-24
- SPI port de communication haute vitesse 20 MHz
- Capteur de température intégré avec CAN à registre d'approximation successive (SAR) 12 bits
- Précision de ±3 °C de -40 °C à +85 °C
- Boîtier LFCSP-40 6 mm × 6 mm × 0,75 mm avec EPAD
Applications
- Surveillance de l'énergie et de l'alimentation
- Surveillance de la qualité de l'alimentation conforme aux normes
- Dispositifs de protection
- État des machines
- Unités de distribution d'énergie intelligentes
- Compteurs d'énergie polyphasés
Vidéos
Schéma fonctionnel
