Analog Devices Inc. Convertisseur analogique-numérique AD9083
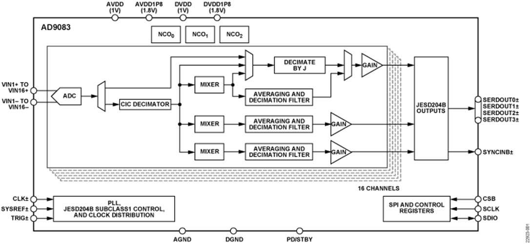
Le convertisseur analogique-numérique AD9083 d'Analog Devices Inc. est un CAN à 16 canaux, 125 MHz de largeur de bande et temps continu Σ-Δ (CTSD). L'AD9083 dispose d'un filtre anti-repliement unipolaire programmable sur puce et d'une résistance de terminaison. Il est conçu pour offrir un faible coût, une basse consommation, une taille réduite et une simplicité d'utilisation. Les 16 cœurs de CAN disposent d'une architecture de modulateur CTSD de premier ordre avec une logique de correction de la non-linéarité d'arrière-plan intégrée et un tramage à auto-annulation. Chaque CAN dispose d'entrées large bande prenant en charge diverses plages d'entrées sélectionnables par l'utilisateur. Une référence de tension intégrée facilite la conception.Caractéristiques
- Fonctionnement d'alimentation 1,0 V et 1,8 V
- Largeur de bande d'entrée analogique utilisable de 125 MHz
- Fréquence d'échantillonnage jusqu'à 2 GS/s
- Densité spectrale de bruit dans une largeur de bande de 100 MHz = −145 dBFS/Hz, codage 2,0 GS/s
- SNR = 66 dBFS en largeur de bande de 100 MHz, codage 2,0 GS/s
- SNR = 82 dBFS en largeur de bande de 15,625 MHz, codage 2,0 GS/s
- SFDR = 60 dBc en largeur de bande de 100 MHz, codage 2,0 GS/s
- SFDR = 80 dBc en largeur de bande de 15,625 MHz, codage 2,0 GS/s
- Variation de signal ample
- Puissance totale par canal de 90 mW à 2,0 GS/s (paramètres par défaut), puissance par canal de 35 mW (min)
- Plage d'entrée flexible différentielle de 0,5 V p-p à 2 V p-p
- Diaphonie de canal 90 dB, codage 2,0 GS/s
- Processeur numérique
- Filtre de décimation CIC
- DDC programmable
- Découpage de données
- Sorties codées sous-classe 1 JESD204B
- Prend en charge jusqu'à 16 Gbits/voie
- Traitement flexible des échantillons de données
- Configuration de ligne JESD204B flexible
- Contrôle du port série
Applications
- Imagerie à ondes millimétriques
- Réseaux de phase et de formage de faisceaux électroniques
- Récepteurs à large bande multicanaux
- Mesures de prise en charge électronique
Schéma fonctionnel
Amélioration des scanners à ondes millimétriques nouvelle génération avec technologie de traitement en périphérie
Découvrez comment la technologie d'ondes millimétriques surpasse les détecteurs de métaux traditionnels et comment un chipset avec une gestion efficace des données via un traitement en périphérie permet le développement de systèmes avancés de numérisation de sécurité guidée.
Publié le: 2021-01-27
| Mis à jour le: 2023-04-17
