Analog Devices Inc. nanoDAC octal 16 bits AD5676
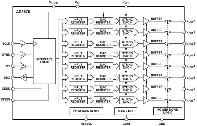
Le nanoDAC octal 16 bits AD5676 Analog Devices est un convertisseur numérique-analogique à faible puissance qui comporte une broche de sélection de gain donnant une sortie à pleine échelle de VREF (gain = 1) ou 2 x VREF (gain = 2). Le composant fonctionne à partir d'une alimentation simple comprise entre 2,7 V et 5,5 V et sa conception garantit son comportement monotonique. L'AD5676 ADI est disponible dans un boîtier TSSOP à 20 fils et incorpore également un circuit de réinitialisation à la mise sous tension et une broche RSTSEL qui garantit que les sorties du CNA démarrent à zéro sur l'échelle ou à mi-hauteur et y restent jusqu'à une écriture valide. L'AD5676 est doté d'un mode veille, qui réduit la consommation électrique à 1 μA en standard lorsque le convertisseur est en mode veille. L'AD5676 est caractérisé par une plage de température de fonctionnement de -40 °C à +125 °CCaractéristiques
- High performance
- High relative accuracy (INL): ±3 LSB maximum at 16 bits
- Total unadjusted error (TUE): ±0.14% of FSR maximum Offset error: ±1.5 mV maximum
- Gain error: ±0.06% of FSR maximum
- Wide operating ranges
- -40°C to +125°C temperature range
- 2.7V to 5.5V power supply
- Easy implementation
- User-selectable gain of 1 or 2 (GAIN pin)
- 1.8V logic compatibility
- 50MHz SPI with readback or daisy chain
- Robust 2kV HBM and 1.5kV FICDM ESD rating
- 20-lead, TSSOP RoHS-compliant package
Applications
- Optical transceivers
- Base station power amplifiers
- Process control (PLC input/output cards)
- Industrial automation
- Data acquisition systems
Functional Block Diagrams
Publié le: 2015-01-13
| Mis à jour le: 2024-03-28
