Analog Devices Inc. CAN AD4195-4 à faible bruit et haute précision
Les convertisseurs Sigma-Delta AD4195-4 d’Analog Devices Inc. sont des frontaux analogiques multicanaux entièrement intégrés et à faible bruit, destinés aux applications de mesure haute précision. Ces dispositifs 62,5 kSPS contiennent un convertisseur analogique-numérique (CAN) Σ-Δ à faible bruit de 24 bits et peuvent être configurés avec quatre entrées différentielles ou huit entrées simples ou pseudo-différentielles. L’AD4195-4 d’ADI intègre un filtrage numérique avancé et des options de gain programmable, permettant un conditionnement de signal flexible pour une large gamme de capteurs et de types d’entrée.L' architecture comprend des capacités de référence et de diagnostic intégrées, simplifiant la conception du système tout en garantissant des performances robustes. Avec une consommation faible puissance et plusieurs modes de fonctionnement, le dispositif est optimisé pour les systèmes économes en énergie. La communication est prise en charge via une interface SPI standard pour une intégration transparente dans les plateformes basées sur des microcontrôleurs. Idéal pour l'automatisation industrielle, l'instrumentation médicale, les balances et autres systèmes de mesure de précision, l'AD4195-4 combine une haute résolution, un faible bruit et une fiabilité pour des applications critiques.
Caractéristiques
- Bruit de 10 nV rapporté à l'entrée à 3.8SPS, gain de 128
- Entrées analogiques multiplexées par points de croisements
- 4 entrées différentielles / 8 entrées pseudo-différentielles
- PGA intégré à bruit ultra-faible, plage de gains de 0,5 à 128
- Débit de données de sortie 3,8 SPS à 62,5 kSPS
- Filtres numériques flexibles
- Filtres sinc à faible latence
- Rejet simultané du 50Hz / 60Hz
- Référence de l'écart de bande avec dérive standard de 5 ppm/°C
- Oscillateur interne
- Alimentations électriques
- analogique de 4,75 V à 5,25 V ou ±2,5 V
- Numérique de 1,7 V à 5,25 V
- Sources de courant d'excitation programmables adaptées
- commutateurs d'alimentation coté bas
- Générateur de tension de polarisation sur puce
- Capteur de température interne
- 4 entrées/sorties à usage général
- Étalonnage interne et du système
- Détection d'épuisement du capteur
- Fonctions de diagnostic
- Configuration par canal
- Séquenceur de canaux automatique flexible
- Interface série 3 ou 4 fils (détecteur Schmitt sur SCLK) - SPI, QSPI, MICROWIRE et compatible DSP
- Interface compatible TDM pour le streaming de données
- Plages de température
- Performance de -40 °C à +105 °C
- Fonctionnel de -40 °C à +125 °C
- Boîtier LFCSP 32 broches, 4 mm x 6 mm
- Niveau de sensibilité à l'humidité (MSL) 3
Applications
- Contrôle de processus industriel (modules PLC/DCS)
- Mesure de la température
- Mesure de pression
- Instrumentation médicale et scientifique
- Chromatographie
- Surveillance environnementale
- Test et mesure électriques
- Instruments
- Balances
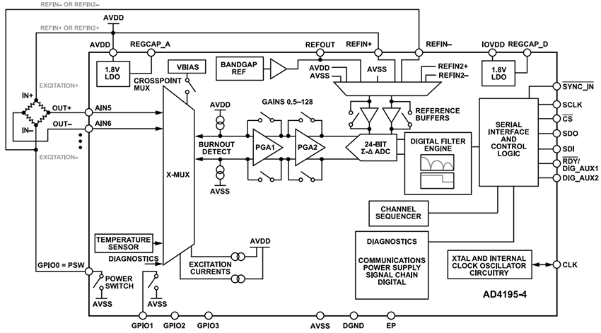
Schéma fonctionnel
Circuit d'application pour balance de pesée
Circuit d'application RTD 3-Wire
Publié le: 2025-12-01
| Mis à jour le: 2026-01-22
