ams OSRAM CI pilote LED automobile AS1163 & AS1163B
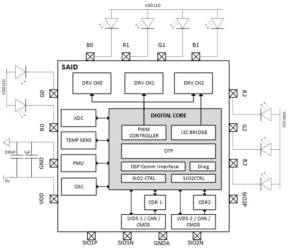
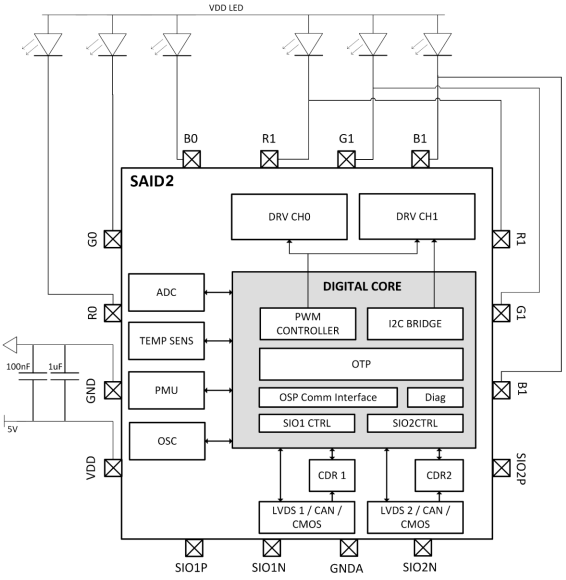
Les circuits intégrés de pilote LED automobile AS1163 et AS1163B d'ams OSRAM sont des dispositifs en silicium à signaux mixtes optimisés pour les applications d'éclairage dynamique. Ces circuits intégrés prennent en charge les conceptions de PCB minces monocouche et l'Open System Protocol (OSP), ce qui les rend compatibles avec l'OSIRE E3731i. Les circuits intégrés de pilote LED AS1163 et AS1163B présentent une topologie en étoile ou en guirlande à deux fils de 2,4 Mbit/s (bidirectionnelle ou en boucle de retour), jusqu'à 1000 nœuds et un réglage de la luminosité sur 16 bits. Les fonctionnalités supplémentaires incluent une passerelle I2C, une connexion parallèle, un retour de rail d'alimentation et une lecture analogique. Ces dispositifs sont utilisés dans les effets d'éclairage dynamique intérieur, l'éclairage ambiant, l'éclairage fonctionnel, l'éclairage extérieur, l'éclairage de toit et les surfaces intelligentes.Le CI SAID AS1163 pilote 9 LED assemblées en 3 triplets de canaux (RVB) avec une portée dynamique à graduation MLI indépendante jusqu'à 16 bits. Le CI SAID2 AS1163B pilote 6 LED organisées en 2 triplets de canaux (RVB) avec une portée dynamique à graduation MLI indépendante jusqu'à 16 bits. Les fonctions de protection incluent le diagnostic d'ouverture/court-circuit/communication et la protection contre la surtension/surchauffe.
Caractéristiques
- 2,4 Mbit/s en guirlande à deux fils (bidirectionnelle ou en boucle de retour) ou topologie en étoile
- Diagnostic d'ouverture/court-circuit/communication et protection contre la surtension/surchauffe
- Jusqu'à 1000 nœuds
- Compatible avec l'OSIRE E3731i en guirlande
- Regroupement de sortie (jusqu'à 288 mA)
- Réglage de la luminosité (16 bits)
- Tramage anti-clignotement
- PCB mince/à couche unique
- Connexion SPI à deux fils avec microcontrôleur (MCU)
- AS1163 (SAID) :
- 3 LED RVB (48 mA, 24 mA et 24 mA)
- 2 LED RVB + I2C
- 9 LED monochromes
- AS1163B (SAID2) :
- 2 LED RVB (48 mA, 48 mA et 48 mA)
- 1 LED RVB + I2C
- 6 LED monochromes
Applications
- Effet d'éclairage dynamique intérieur
- Éclairage d'ambiance
- Éclairage fonctionnel
- Éclairage extérieur
- Éclairage de toit
- Surface intelligente
Schéma fonctionnel de l'AS1163 (SAID)
Schéma fonctionnel de l'AS1163B (SAID2)
Publié le: 2025-02-18
| Mis à jour le: 2025-03-11
