Amphenol SGX Sensortech VQ6 Thermal Conductivity Gas Detector Elements
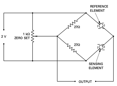
Amphenol SGX Sensortech VQ6 Thermal Conductivity Gas Detector Element consists of two matched elements used to detect gases from 0 to 100% by volume concentrations. These sensors detect using a recommended bridge circuit and mounting arrangement. The VQ6 features extended pins for fitting directly to printed circuit boards. The element operates on the thermal conductivity principle. The sensing element is open to the atmosphere under test, and the reference element is supplied sealed in reference air. The device's response depends on the difference between the thermal conductivity of the atmosphere under test and the reference air.Specifications
- Detection of gases in 0 to 100% by volume concentrations
- Continuous operation
- 2.0V ±0.1V bridge supply
- 0.75W maximum bridge power consumption
- 1.0mV/% typical response to methane in air
Bridge Circuit (Recommended)
Mounting Arrangement (Recommended)
Publié le: 2017-05-02
| Mis à jour le: 2023-05-12
