Alliance Memory AS29CF040-55CCIN Parallel Flash Memory
Alliance Memory AS29CF040-55CCIN Parallel Flash Memory is a 5V memory with 524,288 bytes of 8 bits each. This Alliance Memory Flash memory divides the 512KB of data into four sectors for flexible sector erase capability. The AS29CF040-55CCIN Flash memory uses pins I/O0 to I/O7 for data and pins A0 to A18 for addresses. This memory is available in 32-pin PLCC packages.The AS29CF040-55CCIN Flash memory requires only a single 5V power supply for both read and write operations. The program and erase functions use internally generated and regulated voltages. The AS29CF040-55CCIN Flash memory is a software command set compatible with the JEDEC single-power-supply Flash standard. This memory can be programmed in standard EPROM programmers.
Features
- 5V ± 10% for read-and-write operations
- Access times
- 55 (max.)
- Current
- 20mA typical active read current
- 30mA typical program/erase current
- 1µA typical CMOS standby
- Flexible sector architecture
- 8 uniform sectors of 64KB each
- Any combination of sectors can be erased
- Supports full chip erase
- Sector protection
- A hardware method of protecting sectors to prevent any inadvertent program or erase operations within that sector
- -40°C to 85°C industrial operating temperature range
- Embedded Erase Algorithms
- Embedded Erase Algorithm will automatically erase the entire chip or any combination of designated sectors and verify the erased sectors
- Embedded Program Algorithm automatically writes and verifies bytes at specified addresses
- Minimum 100,000 program/erase cycles per sector
- 20-year data retention at 125°C
- Reliable operation for the life of the system
- Compatible with JEDEC standards
- Pinout and software compatible with single-power supply Flash memory standard
- Superior inadvertent write protection
- Data polling and toggle bits
- Provides a software method of detecting the completion of a program or erasing operations
- Erase Suspend/Erase Resume
- Suspends a sector erase operation to read data from, or program data to, a non-erasing sector, then resumes the erase operation
- Package options
- 32-pin PLCC
- All Pb-free (Lead-free) products are RoHS2.0 compliant
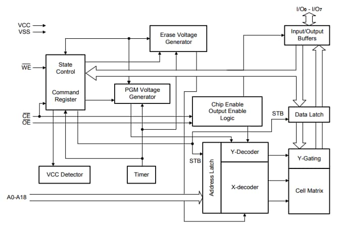
Block Diagram
Publié le: 2019-10-22
| Mis à jour le: 2023-04-18
